ams OSRAM AS1163 & AS1163B Automotive LED Driver ICs
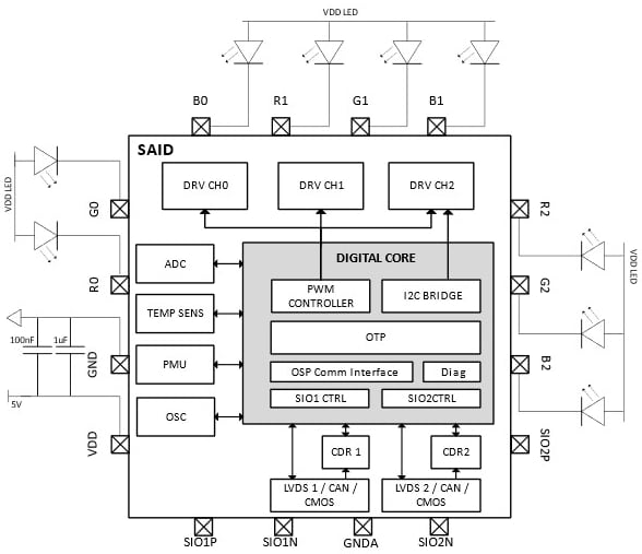
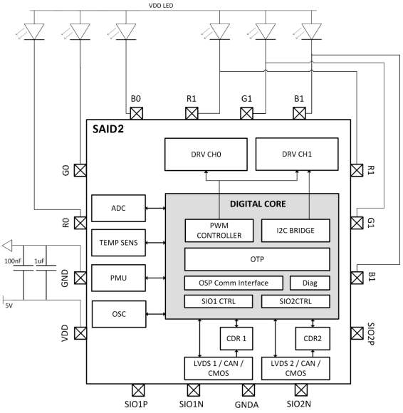
ams OSRAM AS1163 and AS1163B Automotive LED Driver ICs are mixed-signal silicon devices optimized for dynamic lighting applications. These ICs support single-layer slim PCB designs and Open System Protocol (OSP), which makes them compatible with OSIRE E3731i. The AS1163 and AS1163B LED driver ICs feature a 2.4Mbit/s two-wire daisy chain (bi-directional or loop-back) or star topology, up to 1000 nodes, and 16-bit brightness adjustment. The additional features include an I2C gateway, parallel connection, power-rail feedback, and analog readout. These devices are used in interior dynamic lighting effects, ambient lighting, functional lighting, exterior lighting, roof lighting, and smart surfaces.The AS1163 SAID IC drives 9 LEDs assembled in 3 channel triplets (RGB) with an independent PWM dimming dynamic range of up to 16-bit. The AS1163B SAID2 IC drives 6 LEDs organized in 2 channel triplets (RGB) with an independent PWM dimming dynamic range of up to 16-bit. The protection features include open/short/communication diagnosis and overvoltage/overtemperature protection.
Features
- 2.4Mbit/s two-wire daisy chain (bi-directional or loop-back) or star topology
- Open/short/communication diagnosis and overvoltage/overtemperature protection
- Up to 1000 nodes
- Compatible with OSIRE E3731i in daisy chain
- Output clustering (up to 288mA)
- Brightness adjustment (16-bit)
- Anti-flickering dithering
- Slim/single-layer PCB
- Two-wire-SPI connection with MCU
- AS1163 (SAID):
- 3 x RGB LEDs (48mA, 24mA, and 24mA)
- 2 x RGB LEDs + I2C
- 9 x single-color LEDs
- AS1163B (SAID2):
- 2 x RGB LEDs (48mA, 48mA, and 48mA)
- 1 x RGB LEDs + I2C
- 6 x single-color LEDs
Applications
- Interior dynamic lighting effect
- Ambient lighting
- Functional lighting
- Exterior lighting
- Roof lighting
- Smart surface
AS1163 (SAID) Block Diagram
AS1163B (SAID2) Block Diagram
Inilathala: 2025-02-18
| Na-update: 2025-03-11
