Analog Devices Inc. AD4195-4 Low-Noise Precision Sigma-Delta ADCs

Analog Devices Inc. AD4195-4 Low-Noise Precision Sigma-Delta ADCs are completely integrated, low-noise, multichannel analog front ends for high-precision measurement applications. These 62.5kSPS devices contain a low-noise, 24-bit Σ-Δ analog-to-digital converter (ADC) and can be configured to have four differential or eight single-ended or pseudodifferential inputs. The ADI AD4195-4 incorporates advanced digital filtering and programmable gain options, enabling flexible signal conditioning for a wide range of sensors and input types.

The architecture includes integrated reference and diagnostic capabilities, simplifying system design while ensuring robust performance. With low power consumption and multiple operating modes, the device is optimized for energy-efficient systems. Communication is supported through a standard SPI interface for seamless integration into microcontroller-based platforms. Ideal for industrial automation, medical instrumentation, weigh scales, and other precision measurement systems, the AD4195-4 combines high resolution, low noise, and reliability for critical applications.

Features

  • 10nV input-referred noise at 3.8SPS, 128 gain
  • Crosspoint multiplexed analog inputs
  • 4x differential/8x pseudodifferential inputs
  • Ultra-low noise integrated PGA, 0.5 to 128 gains range
  • 3.8SPS to 62.5kSPS output data rate
  • Flexible digital filters
    • Low-latency sinc filters
    • Simultaneous 50Hz/60Hz rejection
  • Band-gap reference with 5ppm/°C drift typical
  • Internal oscillator
  • Power supplies
    • 4.75V to 5.25V or ±2.5V analog
    • 1.7V to 5.25V digital
  • Matched programmable excitation current sources
  • Low-side power switches
  • On-chip bias voltage generator
  • Internal temperature sensor
  • 4x general-purpose inputs/outputs
  • Internal and system calibration
  • Sensor burnout detection
  • Diagnostic functions
  • Per channel configuration
  • Flexible automatic channel sequencer
  • 3- or 4-wire serial interface (Schmitt trigger on SCLK) - SPI, QSPI, MICROWIRE, and DSP compatible
  • TDM-compatible interface for data streaming
  • Temperature ranges
    • -40°C to +105°C performance
    • -40°C to +125°C functional
  • 32-lead 4mm x 6mm LFCSP package
  • Moisture Sensitivity Level (MSL) 3

Applications

  • Industrial process control (PLC/DCS modules)
  • Temperature measurement
  • Pressure measurement
  • Medical and scientific instrumentation
  • Chromatography
  • Environmental monitoring
  • Electrical test and measurement
  • Instrumentation
  • Weigh scales

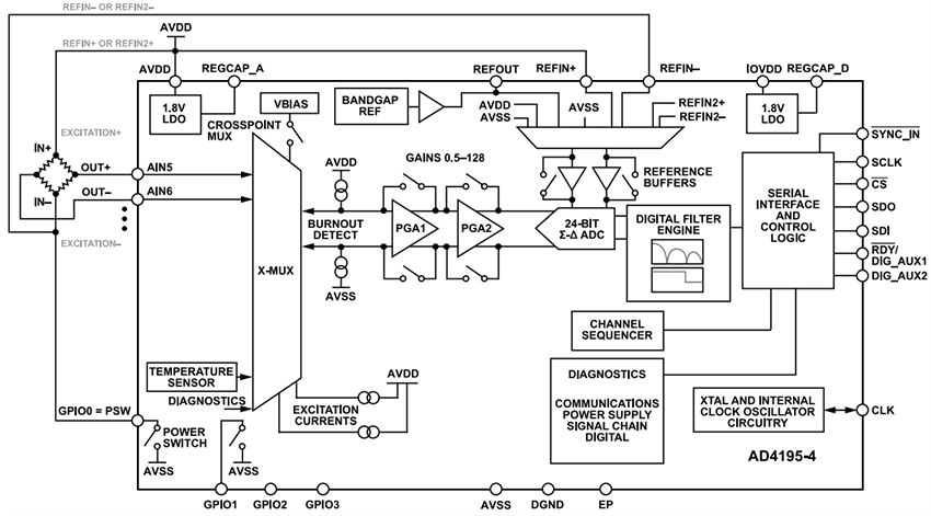
Block Diagram

Block Diagram - Analog Devices Inc. AD4195-4 Low-Noise Precision Sigma-Delta ADCs

Weigh Scale Application Circuit

Application Circuit Diagram - Analog Devices Inc. AD4195-4 Low-Noise Precision Sigma-Delta ADCs

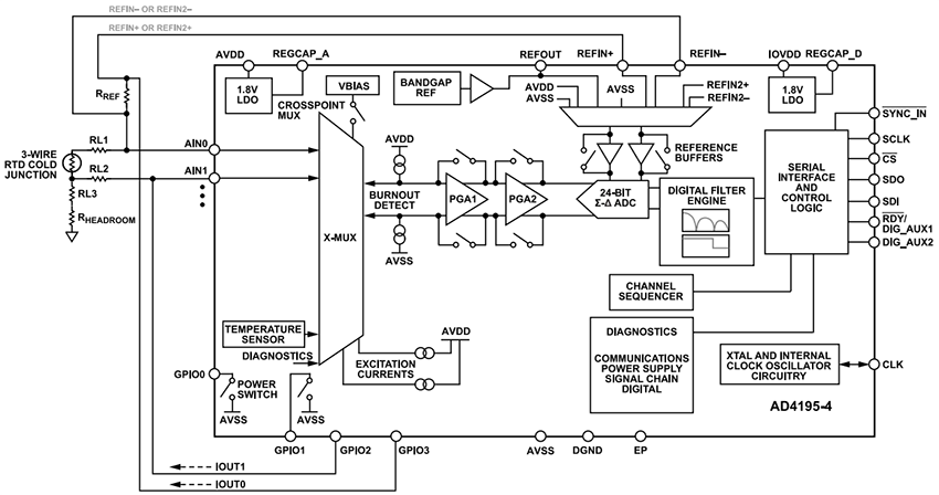
3-Wire RTD Application Circuit

Application Circuit Diagram - Analog Devices Inc. AD4195-4 Low-Noise Precision Sigma-Delta ADCs
Inilathala: 2025-12-01 | Na-update: 2026-01-22