Analog Devices Inc. AD5778R 2-Channel 6-Bit Current Source DAC
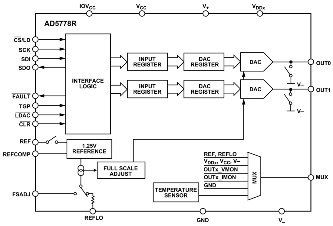
Analog Devices AD5778R 2-Channel 6-Bit Current Source Digital-to-Analog Converter (DAC) provides two high-compliance current source outputs with a guaranteed 1V dropout at 200mA. The device supports load voltages of up to 32V. There are eight current ranges, programmable per channel, with full-scale outputs of up to 300mA. Additionally, the channels can be paralleled to allow ultra-fine adjustments of large currents or combined outputs of up to 600mA.A dedicated supply pin is provided for every output channel. Each channel can be operated from 2.85V to 33V, and internal switches allow any output to be pulled to the optional negative supply. The Analog Devices AD5778R includes a precision integrated 1.25V reference (10ppm/°C maximum), with the option to use an external reference. The SPI-/Microwire-compatible 3-wire serial interface operates at clock rates up to 50MHz on logic levels as low as 1.71V.
Features
- Per channel programmable output ranges of 300mA, 200mA, 100mA, 50mA, 25mA, 12.5mA, 6.25mA, and 3.125mA
- Flexible 2.85V to 33V supply voltage
- 1V dropout guaranteed
- Separate voltage supply per output channel
- Internal switches to the optional negative supply
- Full 16-bit resolution at all ranges
- Guaranteed operation of –40°C to 125°C
- Precision (10ppm/°C maximum) internal reference or external reference input
- Analog mux monitors, voltages, and currents
- A/B toggle via SPI or dedicated pin
- 1.8V to 5V SPI
- 32-lead (5mm × 5mm) QFN package
Applications
- Tunable lasers
- Semiconductor optical amplifiers
- Resistive heaters
- Current-mode biasing
- Proportional solenoid drive
Functional Block Diagram
Inilathala: 2024-08-07
| Na-update: 2024-09-04
