Analog Devices Inc. AD9083 Analog-to-Digital Converter
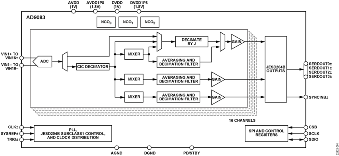
Analog Devices Inc. AD9083 Analog-to-Digital Converter is a 16-channel, 125MHz bandwidth, continuous-time Σ-Δ (CTSD) ADC. The AD9083 features an on-chip, programmable, single-pole antialiasing filter and termination resistor. It's designed for low power, small size, and ease of use. The 16 ADC cores features a first-order, CTSD modulator architecture with integrated, background nonlinearity correction logic and self-canceling dither. Each ADC features wide bandwidth inputs supporting a variety of user-selectable input ranges. An integrated voltage reference eases design considerations.Features
- 1.0V and 1.8V supply operation
- 125MHz usable analog input bandwidth
- Sample rate up to 2 GSPS
- Noise spectral density in 100 MHz bandwidth = −145dBFS/Hz, 2.0 GSPS encode
- SNR = 66dBFS in 100MHz bandwidth, 2.0 GSPS encode
- SNR = 82dBFS in 15.625MHz bandwidth, 2.0 GSPS encode
- SFDR = 60dBc in 100MHz bandwidth, 2.0 GSPS encode
- SFDR = 80dBc in 15.625MHz bandwidth, 2.0 GSPS encode
- Large signal dither
- 90mW total power per channel at 2.0 GSPS (default settings), 35mW power per channel (min)
- 0.5V p-p to 2V p-p Differential flexible input range
- 90dB channel crosstalk, 2.0 GSPS encode
- Digital processor
- CIC decimation filter
- Programmable DDC
- Data gating
- JESD204B subclass 1 encoded outputs
- Supports up to 16Gbps/lane
- Flexible sample data processing
- Flexible JESD204B lane configurations
- Serial port control
Applications
- Millimeter wave imaging
- Electronic beam forming and phased arrays
- Multichannel wideband receivers
- Electronic support measures
Block Diagram
Enhancing Next-Generation Millimeter Wave Scanners with Edge Processing Technology
Discover how mmWave technology surpasses traditional metal detectors and how a chipset with efficient data management through edge processing enables the development of advanced walkthrough security scanning systems.
Inilathala: 2021-01-27
| Na-update: 2023-04-17
