Analog Devices Inc. ADL8108 Low Noise Amplifiers
Analog Devices Inc. ADL8108 Low Noise Amplifiers are versatile low-noise amplifiers designed to operate across a frequency range of 1GHz to 8GHz. These amplifiers feature an integrated temperature sensor and a power-down control pin, making the device ideal for energy-efficient applications. The ADL8108 amplifiers deliver robust input and output matching with 50Ω impedance. These amplifiers are housed in a compact 16-lead LFCSP package, designed for thermal efficiency and reliable performance in high-frequency environments. The ADL8108 amplifiers are used in telecommunication, test instrumentation, and military.Features
- 5V single positive supply and IDQ of 90mA nominal
- RBIAS drain current adjustment pin
- Integrated temperature sensor
- Integrated enable and disable function
- 20dB gain typical from 3GHz to 4.5GHz
- 35.5dBm OIP3 typical from 1GHz to 4.5GHz
- 1dB noise figure typical from 3GHz to 6GHz
- -55°C to 125°C extended operating temperature range
- RoHS-compliant, 3mm x 3mm, and 16-lead LFCSP package
Applications
- Telecommunications
- Test instrumentation
- Military
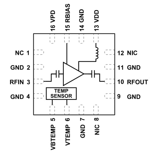
Block Diagram
Inilathala: 2025-01-27
| Na-update: 2025-02-25
