Analog Devices Inc. ADSD3500 ToF Depth Image Signal Processor
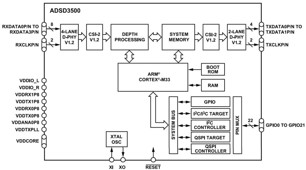
Analog Devices Inc. ADSD3500 ToF Depth Image Signal Processor processes raw phase frames from the ToF imager to produce radial depth, active brightness (AB), and confidence frames. The Analog Devices Inc. ADSD3500 has an integrated Arm® Cortex®-M33 and manages data and processing flow. The ADSD3500 supports computation of 640 x 512 resolution and partial depth computation for 1024 x 1024 resolution, optimizing power usage. Additionally, it controls image sensor module boot-up, calibration data loading, and frame triggering.Features
- Depth processor for Time-of-Flight imagers
- Full-depth processing at 640 x 512 resolution, up to 90 frames per second (FPS)
- Partial depth processing at 1024 x 1024 resolution, up to 30 FPS
- On-chip static random access memory (SRAM) for frame buffering and manipulation
- Arm Cortex-M33 processor for data flow control
- 4-lane MIPI CSI-2 receiver interface, 2.5Gbps per lane
- 2-lane MIPI CSI-2 transmitter interface, 2.5Gbps per lane
- I2C Controller and Target (1MHz), I3C Target (12.5MHz)
- QSPI Controller (50MHz) and Target (30MHz)
- 22 GPIO for external connectivity
- Crystal oscillator (24MHz) or external clock (24MHz, 19.2MHz)
- 1.8V I/O supply, 0.8V core supply
- 3.47mm x 3.47mm WLCSP with 9 x 9 ball array
Applications
- Augmented reality (AR) systems
- Robotics
- Building automation
- Machine vision systems
Block Diagram
Inilathala: 2023-12-26
| Na-update: 2024-04-11
