Analog Devices / Maxim Integrated DS1775R Digital Thermometer & Thermostat
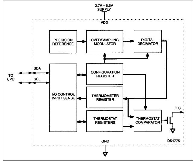
Analog Devices DS1775R Digital Thermometer and Thermostat is the only digital sensor in minimalist SOT-23 packaging that can maintain an accuracy of ±2°C throughout the 3V to 5V power range. Readouts are adjustable from 9 to 12 bits of resolution. DS1775R provides premium thermal management in space- and weight-constrained applications. Analog Devices DS1775R indicates the device's temperature over a range of -55°C to +125°C. Its five major components automate thermal control: a digital temperature sensor, analog-to-digital converter, data registers, thermostatic comparator, and 2-wire system interface. Applications for DS1775R include disk drives in PCs, servers, and workstations, environmental and biomedical diagnostic equipment, handheld instruments such as mobile phones, or any thermally sensitive, electronically controlled system.Features
- Temperature measurements require no external components
- Measures temperatures from -55°C to +125°C
- ±2°C thermometer accuracy
- Thermometer resolution is configurable from 9 bits to 12 bits (0.5°C to 0.0625°C resolution)
- User-definable thermostat settings
- Data is read from/written to through a 2-wire serial interface
- 2.7V to 5.5V wide power-supply range
- Software compatible with DS75 2-wire thermal watchdog in thermometer mode
- Space-conscious 5-Pin SOT23 package with low thermal time constant
Applications
- Computer graphics systems
- Industrial instruments
- Notebook computers
- Portable terminals
- Storage area networks (SANs)
Block Diagram
Inilathala: 2013-07-17
| Na-update: 2023-08-31
