Broadcom APDS-9922/APDS-9160 Sensors
Broadcom APDS-9922/APDS-9160 Ambient Light and Proximity Sensors provide a digital I2C compatible interface ambient light sensor (ALS) and proximity sensor with IR LED in a single 8-pin package. The ALS allows a photopic response to light intensity in low light conditions or behind a dark faceplate. The device approximates the human eye's response, providing a direct readout where the output count is proportional to the ambient light level. The APDS-9922/APDS-9160 Sensors feature a low light functionality, enabling operation behind darkened glass. The proximity detection feature operates well in bright sunlight to dark rooms. The micro-optics lenses within the module allow highly efficient transmission and reception of infrared energy, which lowers overall power dissipation. The device utilizes the low-power standby mode resulting in a very low average power consumption.Features
- ALS, IR LED, and Proximity detector in an optical module
- Ambient Light Sensing (ALS)
- Light output proportional to light intensity
- Uses optical coating technology to emulate the human eye spectral response
- Works well under different light source conditions
- Low light sensitivity -- operates behind darkened glass
- Up to 20-bit resolution
- Proximity detection
- Integrated IR LED and synchronous LED driver
- Up to 11-bit resolution
- Power management
- Low active current
- Low standby current
- I2C Interface compatible
- Up to 400kHz (I2C Fast-Mode)
- Dedicated Interrupt Pin
- Wide supply voltage 1.7V to 3.6V
- Small package
Applications
- Cellphone backlight dimming
- Cellphone touch-screen disable
- Automatic speakerphone enable
- Digital camera eye sensor
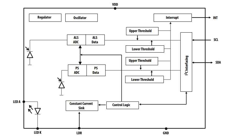
APDS-9160-003 Block Diagram
APDS-9922-001 Block Diagram
Inilathala: 2018-12-17
| Na-update: 2024-09-19
