Epson ICs S1C17W03/W04 Single Chip Microcontrollers
Epson S1C17W03/W04 Single-Chip Microcontrollers are 16-bit MCUs. These MCUs feature low-voltage operation from 1.2V, and include a 16KB or 32KB flash memory. The S1C17W03/W04 MCUs also feature an embedded high-efficiency DC to DC converter that generates constant voltage to drive the IC with lower power consumption than 4-bit MCUs. The S1C17W03/W04 MCUs include a 2KB RAM, a real-time clock, a stopwatch, and an A/D converter. These MCUs are equipped with a PWM timer that generates a drive waveform for a motor driver and a high-performance 16-bit CPU. The S1C17W03/W04 MCUs find purpose in battery-driven applications that require an A/D conversion function and timers.Features
- Seiko Epson original 16-bit RISC CPU core S1C17
- Ultra-low standby power consumption with a 0.3µA at HALT stage in super economy mode
- On-chip debugger
- Embedded flash memory
- 16KB or 32KB
- 2KB embedded RAM
- Clock generator
- Watchdog timer and real-time clock
- 16-bit timer (T16) and 16-bit PWM timer(T16B)
- Universal Asynchronous Receiver-Transmitter (UART), Synchronous Serial Interface (SPIA), and I2C interfaces
- R/F converter
- 12-bit A/D converter
- 1.2VDD to 3.6VDD operating voltage range
- -40°C to 85°C operating temperature range
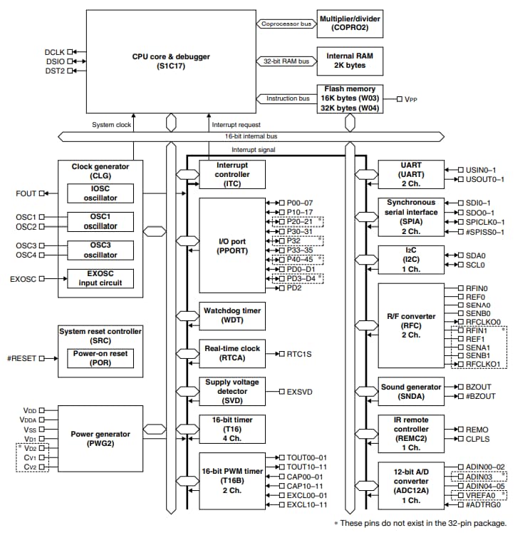
S1C17W03/W04 Single Chip Microcontrollers Block Diagram
Additional Resource
View Results ( 8 ) Page
| Numero ng Piyesa | Datasheet | Paglalarawan |
|---|---|---|
| S1C17W03F101100-250 | ![]() |
16-bit Microcontrollers - MCU 16-bit MCU, 4.2MHz,16KB Flash, 2KB RAM, 12bit ADC |
| S1C17W03F102100-490 | ![]() |
16-bit Microcontrollers - MCU 16-bit MCU, 4.2MHz,16KB Flash, 2KB RAM, 12bit ADC |
| S1C17W04F101100-250 | ![]() |
16-bit Microcontrollers - MCU 16-bit MCU, 4.2MHz,32KB Flash, 2KB RAM, 12bit ADC |
| S1C17W04F102100-490 | ![]() |
16-bit Microcontrollers - MCU 16-bit MCU, 4.2MHz,32KB Flash, 2KB RAM, 12bit ADC |
| S1C17W03F101100 | ![]() |
16-bit Microcontrollers - MCU 16 bit MCU 4.2MHz 16KB Flash 2KB RAM |
| S1C17W03F102100 | ![]() |
16-bit Microcontrollers - MCU 16 bit MCU 4.2MHz 16KB Flash 2KB RAM |
| S1C17W04F101100 | ![]() |
16-bit Microcontrollers - MCU 16 bit MCU 4.2MHz 32KB Flash 2KB RAM |
| S1C17W04F102100 | ![]() |
16-bit Microcontrollers - MCU 16 bit MCU 4.2MHz 32KB Flash 2KB RAM |
Inilathala: 2018-04-18
| Na-update: 2022-08-12

