Espressif Systems EchoEar AI Development Kits

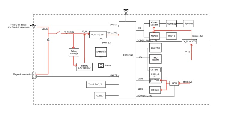
Espressif Systems EchoEar AI Development Kits use large model capabilities to achieve full-duplex voice interaction, multimodal recognition, and intelligent agent control. These devices are equipped with an ESP32-S3 module, a 1.85" QSPI circular touchscreen, and a dual microphone array. The kits also support offline voice wake-up and sound source localization algorithms. The EchoEar AI development kits provide a solid foundation for developers to create complete edge-side artificial intelligence (AI) application experiences. The device's main controller uses the ESP32-S3-WROOM-1-N16R16V module that supports Wi-Fi® and Bluetooth® 5 (LE) wireless connectivity. 

The EchoEar AI development kits offer 16MB PSRAM and 16MB Flash storage space, and are also equipped with a microSD card slot. This slot can support up to 32GB, meeting the needs of voice interaction and multimedia processing. The 1.85" circular touch screen features ESP32-S3 native touch sensors, providing an intuitive and rich interactive experience. These devices provide a built-in 3W speaker and dual microphone array, supporting local voice wake-up and sound source localization. The EchoEar AI development kits integrate a USB Type-C® interface for power supply and programming downloads, while reserving a Pogo pin interface for convenient functional expansion. Typical applications include toys, smart speakers, and smart central control systems.

Features

  • Achieve full-duplex voice interaction, multimodal recognition, and intelligent agent control
  • ESP32-S3 module
  • 1.85" QSPI circular touchscreen with ESP32-S3 native touch sensors
  • Dual microphone array
  • 16MB PSRAM and 16MB Flash storage space
  • MicroSD card slot that supports up to 32GB
  • Built-in 3W speaker
  • Supports offline voice wake-up and sound source localization algorithms
  • Supports Wi-Fi and Bluetooth 5 (LE) wireless connectivity
  • Integrated USB Type-C interface for power supply and programming downloads
  • Pogo pin interface for convenient functional expansion
  • Blue color option (EchoEar-Blue-EN)
  • English option (EchoEar-EN)

Applications

  • Toys
  • Smart speakers
  • Smart central control systems

Block Diagram

Block Diagram - Espressif Systems EchoEar AI Development Kits

CoreBoard PCB Front View

Espressif Systems EchoEar AI Development Kits

BaseBoard PCB Front View

Espressif Systems EchoEar AI Development Kits

Front View

Espressif Systems EchoEar AI Development Kits

Back View

Espressif Systems EchoEar AI Development Kits
Inilathala: 2025-09-10 | Na-update: 2025-12-15