Infineon Technologies ICL8830 Single-Stage PFC Flyback Controller
Infineon Technologies ICL8830 Single-Stage Power Factor Correction (PFC) Flyback Controller is a high-performance device designed for cost-effective and energy-efficient power supply solutions. Tailored for high-frequency switching operation, this controller is capable of driving GaN and Si MOSFET switching devices. The Infineon ICL8830 integrates PFC and quasi-resonant flyback control into a single IC. The controller features a wide input voltage range (90VAC to 300VAC), adjustable maximum on-time, and a comprehensive protection suite, including overvoltage, overcurrent, brown-in/out, and overtemperature protection. Additionally, the ICL8830 includes burst mode operation for ultra-low standby power and a jitter function to ease EMI compliance, making it ideal for modern, compact, and efficient power supply designs.Features
- SSR-CV output flyback topology
- Optimized for high-frequency operation, suitable for operation with GaN devices
- High power factor and low THD, across a wide AC input voltage and output load range
- Supports universal AC input voltage (90VAC to 300VAC, 45Hz to 66Hz) and DC input voltage operation
- QRM operation with valley switching and continuous conduction mode (CCM)-prevention
- Burst mode for very light loads and low system standby power consumption
- Adjustable on-time mapping at the valley changing position, for the desired maximum operating switching frequency
- Adjustable maximum on-time (limits input power and current, allowing safe operation under low line conditions)
- Soft start to reduce component stress during turn-on
- External start-up circuit control signal
- Reduced gate driver voltage during start-up sequence, to allow smaller VCC capacitance for faster start-up
- VCC wake-up burst operation, to maintain sufficient VVCC in burst mode
- Reduced gate driver voltage in burst mode, to reduce gate charge loss for lower standby power
- Comprehensive set of protections
- Internal over-temperature protection (OTP)
- Flyback output overvoltage protection (OVP)
- Primary side overcurrent protection (OCP)
- Brown-in protection
- Brown-out protection
- VCC overvoltage protection
- Open-loop protection
- Input overvoltage protection
Applications
- High-frequency PFC flyback SSR-CVs
- SMPS
- LED drivers, smart lighting, and emergency lighting
- Adapters, chargers, home appliances, and ceiling fans
Specifications
- -0.5V to 26V maximum VCC voltage range
- 0.5W maximum power dissipation at +50°C
- 23V maximum operating supply voltage
- Power supply
- 12.0V to 13.1V maximum VCC turn-on threshold range
- 30μA typical start-up current
- 2.0mA typical supply current
- 220μA typical supply current during burst pause
- 40μA typical supply current in protection mode
- Zero crossing detection
- 45mV typical falling edge
- 55mV typical rising edge, 90mV maximum
- 400mV to 700mV clamping range of positive voltages
- -600mV to -400V clamping range of negative voltages
- Voltage sense
- 0.5µA to 1.5µA bias current range
- 1.56V to 1.63V voltage source for optocoupler/feedback supply
- 102µA to 154µA current threshold range for start-up
- 2.64V to 2.76V open pin turn-off range
- 2.54V to 2.66V voltage range for restart after overvoltage turn-off
- ADC current limit
- 166µA to 260µA lower (for maximum on-time during operation)
- 500µA to 720µA upper (for minimum on-time in burst mode)
- 185K/W maximum junction-to-ambient thermal resistance
- Input voltage detection
- 150mV to 250mV pin short-to-GND threshold
- 1.9V to 2.1V overvoltage threshold
- TD configuration
- 32kΩ to 48kΩ internal pull-up resistance for pre-start-up RTD measurement
- 8kΩ to 12kΩ internal pull-up resistance for RUN state and pre-start-up RTD measurement
- 18kΩ to 68kΩ TD pin resistance-to-ground, for configuration and to activate VS pin load current sensing for output regulation
- Current sense
- 570mV to 650mV OCP1 turn-off threshold range
- 160ns typical OCP1 leading-edge blanking time
- 1140mV to 1260mV OCP2 turn-off threshold range
- 150ns typical OCP2 trigger time
- 0.5µA to 1.5µA CS pull-up current
- PWM generation
- 47µs to 60µs repetition time range
- 42µs to 52.5µs off-time range
- Gate driver
- 125mA minimum source current
- 250mA minimum sink current
- 10.4V to 11.6V peak voltage range
- 6.5V to 7.5V reduced peak voltage range
- Clock oscillators
- 200ms typical restart time
- 25ms typical fast restart time
- Temperature sensors
- ±6°C relative accuracy
- +130°C typical shutdown temperature
- ESD ratings
- 2kV maximum Human Body Model (HBM) per ANSI/ESDA/JEDEC JS-001
- 500V maximum Charged-Device Model (CDM) per ANSI/ESDA/JEDEC JS-002
- PG-DSO-8 package
- -40°C to +150°C maximum juntion temperature range
- +260°C maximum soldering temperature
Application Circuit Diagrams
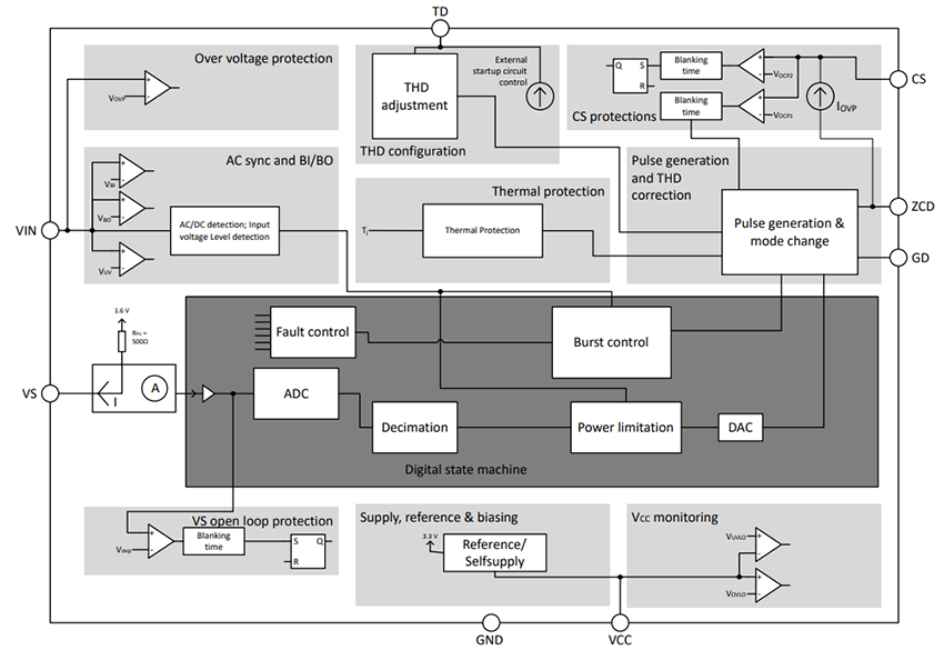
Block Diagram
Inilathala: 2025-06-20
| Na-update: 2025-07-31
