Infineon Technologies IR2233/IR2235 MOSFET & IGBT Drives
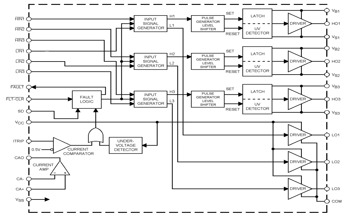
Infineon Technologies IR2233/IR2235 MOSFET and IGBT Drives feature three independent high- and low-side referenced output channels for 3-phase applications. Proprietary HVIC technology enables ruggedized monolithic construction. Logic inputs are compatible with CMOS or LSTTL outputs down to 2.5V logic. An independent operational amplifier provides analog feedback of bridge current via an external current sense resistor.Features
- Floating channel designed for bootstrap operation
- Fully operational to +1200V
- Fully operational to +600V (IR2135 ) option available
- Tolerant to negative transient voltage
- dV/dt immune
- Gate drive supply ranges from 10V/12V to 20V DC and up to 25V for transient
- Undervoltage lockout for all channels
- Overcurrent shutdown turns off all six drivers
- Independent 3 half-bridge drivers
- Matched propagation delay for all channels
- 2.5V logic compatible
- Outputs out of phase with inputs
Applications
- Home appliances
- Motor control and drives
- Robotics
- Home and building automation
- Industrial heating and welding
- Multicopters and drones
Block Diagram
Inilathala: 2020-02-03
| Na-update: 2024-09-26
