Infineon Technologies LITIX™ Interior LED Driver
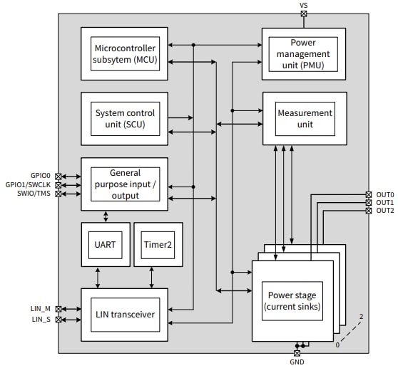
Infineon Technologies LITIX™ Interior LED Driver for Automotive Ambient Lighting is a three-channel device with integrated and protected output stages. This driver is designed to control RGB LEDs with a current up to 51.5mA as a Linear Current Sink (LCS). The power stages can be configured in parallel for higher load currents and the individual power output stage is configurable via a 5-bit current set value. The LITIX™ LED driver uses LIN interface for programming (via bootloader), control, and diagnostic feedback. This driver features 32kB on-chip flash memory, 3kB on-chip SRAM, and 576Bytes 1000 TP on-chip memory.Features
- 3-channel driver (up to 51.5mA each)
- LIN-interface with LIN-auto-adressing
- 32-bit Arm® Cortex®-M23 core
- 32kB on-chip flash and 3kB on-chip SRAM
- 576Bytes 1000 TP on-chip memory
- 11Bit ADC for 0V to 8V with differential measurement
- PWM engine with 16-bit at 610Hz resolution
- Boot ROM for startup FW flash routines
- On-chip oscillator
- Debug with 2-wire SWD
- 2 extra GPIOs
- Small leaded package (TFDSO-16)
- Easy to program a well-known MCU
- Easy and stable software development
- Maximal application flexibility
- Additional sense and control functions
Block Diagram
Typical Application Circuit
Additional Resources
Inilathala: 2025-09-23
| Na-update: 2025-10-13
