Lumissil IS31FL3737B 12 x 12 Dots Matrix LED Driver
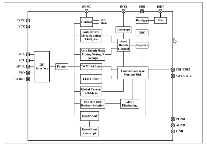
Lumissil IS31FL3737B 12 x 12 Dots Matrix LED Driver is a general-purpose LED driver with a 1/12 cycle rate that requires a 2.7V to 5.5V supply voltage range. This dot-matrix LED driver operates over the temperature range of -40°C to +125°C. The IS31FL3737B LED driver can be programmed via an I2C-compatible interface. Each LED can be dimmed individually with 8-bit PWM data, which allows for 256 steps of linear dimming. The IS31FL3737B LED driver features three auto breathing modes, which are noted as ABM-1, ABM-2, and ABM-3. Each ABM has four breathing characters, including current rising, falling, holding, and off-time, and three loop characters, including loop-beginning, loop-ending, and loop-times. The IS31FL3737B driver incorporates LEDs that can be configured individually to ABM or No-breathing mode. This driver detects each LED's open and short state and stores the open or short information in open-short registers. These registers inform MCU whether the LEDs are open or short and the location of these open or short LEDs. The open-short registers allow MCU to read via an I2C interface. The IS31FL3737B driver is available in the QFN-40 (5mm x 5mm) package. Typical applications include LED in white goods applications, gaming devices (keyboard and mouse), and hand-held devices for LED display.Features
- Supply voltage range: 2.7V to 5.5V
- 12 current source outputs for row control
- 12 switch current inputs for column scan control
- Up to 144 LEDs (12 x 12) in dot matrix
- 1MHz I2C interface
- Programmable 12 x 12 (48RGBs) matrix size with de-ghost function
- Selectable 3 auto breath modes for each dot
- Individual on/off control
- Individual auto breath mode select
- Individual open and short error detection
- Individual 256 steps PWM control steps
- Cascade for synchronization of chips
- QFN-40 (5mm x 5mm) package
- 1.05kHz/2.1kHz/4.2kHz/8.4kHz/26.7kHz PWM frequency option
- Auto breath mode offers 128 steps gamma current, interrupt, and state lookup registers
- Auto breath loop features interrupt pin inform MCU auto breath loop completed
- 256 steps global current setting
Applications
- LED in white good applications
- Gaming devices (keyboard and mouse)
- Handheld devices for LED display
Block Diagram
Inilathala: 2020-06-16
| Na-update: 2024-07-10
