Lumissil IS32LT3132 12-Ch UART Interface Linear LED Driver
Lumissil IS32LT3132 12-Channel UART Interface Linear LED Driver is a programmable current regulator featuring 12 high-side output channels, with each channel capable of up to 100mA. The Lumissil IS32LT3132 is equipped with a UART interface that is compatible with CAN PHY for communication with a master microcontroller or ECU. The host microcontroller employs a command and response protocol to effectively manage the read/write operations of registers on one or multiple IS32LT3132 devices. Each output can individually support 12-bit Pulse Width modulation (PWM) dimming and 8-bit DC current adjustment. The output channels can be combined to provide a higher current drive capability (up to a maximum of 1.2A). The IS32LT3132 is targeted at the pixel-controlled automotive lighting market, such as interior and exterior animation lights. The device is offered in thermally enhanced eTSSOP-24 and WFQFN-32 (5mm × 5mm) packages.For added system reliability, the Lumissil IS32LT3132 integrates fault detection circuitry for open/short string, single LED short, and over-temperature conditions. Faults are recorded in registers which can be accessed by an external MCU. To optimize EMI performance, the IS32LT3132 LED driver features spread spectrum on the internal PWM and LED channel outputs have programmable slew rate control and phase delay to mitigate EMI and power supply inrush current.
Features
- Wide 4.5V to 16V input voltage supply
- UART communication interface with LUMIBUS protocol
- UART compatible with CAN physical layer, 100kbps to 1Mbps baud rate
- CRC to ensure robustness of communication
- Supports up to 64 maximum addressable devices
- Watchdog timer to support fail-safe mode
- 12-channel high-side current output
- Up to 100mA channel current set by resistor
- ±3% device-to-device output current accuracy
- Combined for higher current capability with the same current accuracy
- Low 650mV typical headroom voltage at 100mA
- Individual PWM dimming to each channel
- 4096 steps (12-bit) PWM duty cycle setting
- 7+5-bit
- 12-bit
- 8-bit
- Phase delay minimizes inrush current (6 groups)
- 4096 steps (12-bit) PWM duty cycle setting
- Up to 64kHz programmable PWM frequency
- Current slew rate control and spread spectrum optimizes EMI performance
- Individual 8-bit DC current adjustment to each channel
- 64-step global DC current setting
- Fault protection with reporting
- Fail safe modes selection
- LED string open/short detect
- Single LED short detect
- Programmable fault reporting delay time
- Programmable over-temperature current roll off
- Thermal shutdown
- CRC error detection
- Overcurrent (ISET pin short to GND)
- ISET pin open
- Fault pin pull down fault
- LED undervoltage
- AEC-Q100 qualified with Temperature Grade 1 (-40°C to +125°C)
- -40°C to +150°C operating temperature range
- eTSSOP-24 and WFQFN-32 (5mm × 5mm) package options
- TSCA compliant
- Halogen-free and RoHS-compliant
Applications
- Automotive LED lighting
- Animation taillights
- Animation daytime running lights
- Cluster displays
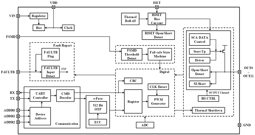
Functional Block Diagram
Operation States
Inilathala: 2025-09-04
| Na-update: 2025-09-12
