Microchip Technology AT86RF212, AT86RF231, & AT86RF233 RF Transceivers
AT86RF212, AT86RF231, and AT86RF233 RF Transceivers are SPI-to-antenna solutions, designed to provide a complete radio transceiver interface between the antenna and the microcontroller. These devices comprise the analog radio transceiver and the digital demodulation including time and frequency synchronization, and data buffering. All RF-critical components are integrated on a single chip minimizing the number of required external components to the antenna, crystal, and decoupling capacitors. The bidirectional differential antenna pins, used for transmission and reception, eliminate the need for an external antenna switch.The Microchip AT86RF230 and AT86RF231 2.4GHz transceivers are designed for use with ZigBee, IEEE 802.15.4, 6LoWPAN, RF4CE, and ISM applications. The AT86RF23x are highly acclaimed networking devices within low power personal area networks.
Features
- AT86RF212 Features
- Frequency Band: 700/800/900MHz
- Max Data Rate (Mb/s): 1
- Antenna Diversity: No
- Crypto Engine: AES
- External PA Control: Yes
- Power Output (dBm): 10
- Operating Voltage (Vcc): 1.8 to 3.6
- Pb-Free Packages: VQFN 32
- AT86RF230 Features
- Frequency Band: 2.4GHz
- Max Data Rate (Mb/s): 0.25
- Antenna Diversity: No
- Crypto Engine: No
- External PA Control: No
- Power Output (dBm): 3
- Operating Voltage (Vcc): 1.8 to 3.6
- Pb-Free Packages: VQFN 32
- AT86RF231 Features
- Frequency Band: 2.4GHz
- Max Data Rate (Mb/s): 2
- Antenna Diversity: Yes
- Crypto Engine: AES
- External PA Control: Yes
- Power Output (dBm): 3
- Operating Voltage (Vcc): 1.8 to 3.6
- Pb-Free Packages: VQFN 32
- AT86RF233 Features
- Frequency Band: 2.4GMHz
- Ultra-low Current Consumption
- Ultra-low Supply Voltage (1.8 to 3.6V)
- Support for Coin Cell Operation
- Easy to Use Interface
- Radio Transceiver Features:
- 128-byte FIFO (SRAM) for data buffering
- Fully Integrated, Fast Setting PLL to Support Frequency Hopping
- Supports 500kHz Channel Spacing
- Battery Monitor
- Fast Wake-Up Time: < 0.4msec
- Special IEEE 802.15.4-2011 Hardware Support
- MAC Hardware Accelerator
- Extended Feature Set Hardware Support
Applications
- Industrial Monitoring and Control
- Home Automation
- Building Automation
- Gas Meters
- Water Meters
- Powerless Wireless System/Energy-Harvesting Solutions
- Proprietary Wireless Systems up to 2Mbps
Videos
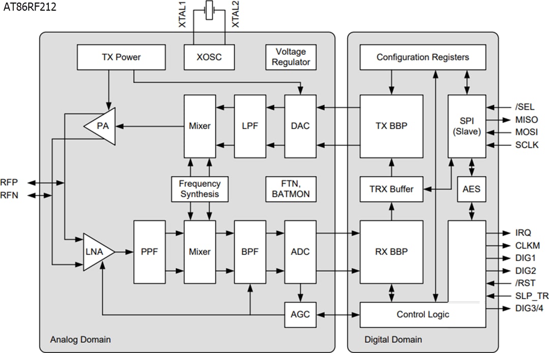
Block Diagram (AT86RF212)
Block Diagram (AT86RF231)
Block DIagram (AT86RF233)
Inilathala: 2010-05-10
| Na-update: 2022-03-11
