Microchip Technology 24CS512 3.4MHz I2C Serial EEPROMs
Microchip Technology 24CS512 3.4MHz I2C Serial EEPROMs provide 512Kbits of Serial EEPROM, utilizing an I2C (2-wire) serial interface. They have a 3.4MHz High-Speed mode capability. The devices are organized as 65,536 bytes of 8 bits each (64-Kbyte) and are optimized for use in consumer and industrial applications where reliable and dependable nonvolatile memory storage is essential. The24CS512 allows up to eight devices to share a common I2C (2-wire) bus and is capable of operation across a broad voltage range (1.7V to 5.5V).Features
- 512-Kbit EEPROM
- Internally organized as one 65,536 x 8-bit block
- Byte or page writes up to 128 bytes
- Byte or sequential reads within a block
- Self-timed write cycle (5 ms maximum)
- High-Speed I2C Interface
- High-Speed mode support for 3.4 MHz
- Industry-standard: 1MHz, 400kHz, and 100kHz
- Output slope control to eliminate ground bounce
- Schmitt Trigger inputs for noise suppression
- Security Register
- Preprogrammed 128-bit serial number
- User-programmable, lockable 128-byte ID page
- Built-in Error Correction Code (ECC) Logic
- ECC Status bit via the Configuration register
- I2C Manufacturer Identification Function Support
- Versatile Data Protection Options
- Hardware Write-Protect (WP) pin for full array data protection
- Enhanced software write protection via the Configuration register
- Operating Voltage Range of 1.7V to 5.5V
- Low-Power CMOS Technology
- Write current 3.0mA maximum at 5.5V
- Read current 1.0mA maximum at 5.5V, 1MHz
- Standby current 1µA at 5.5V
- High Reliability
- More than one million erase/write cycles
- Build-in ECC logic for increased reliability
- Data retention: >200 years
- ESD protection: >4000V
- RoHS Compliant
- Temperature Ranges
- Industrial (I): -40°C to +85°C
System Configuration Using Serial EEPROMs
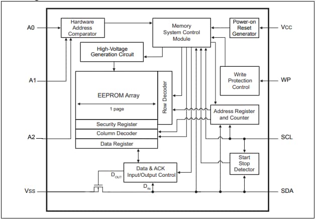
Block Diagram
Additional Resources
Evaluation Board
Videos
Inilathala: 2021-02-18
| Na-update: 2022-03-11
