Microchip Technology 24CSM01 1Mbit Serial EEPROMs
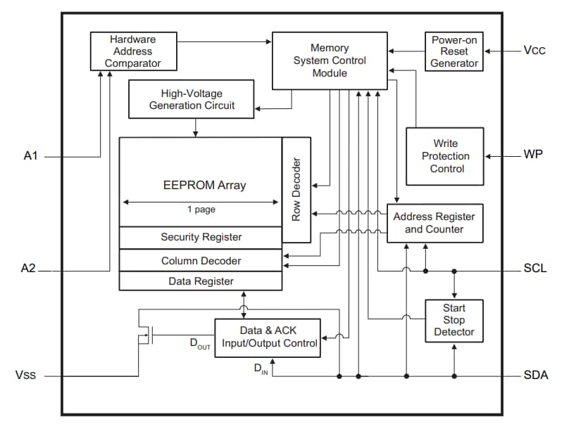
Microchip Technology 24CSM01 1-Mbit Serial EEPROMs are capable of speeds up to 3.4MHz and operate from 1.7V to 5.5V voltage range. These serial EEPROMs allow up to eight devices to share a common I2C (two-wire) bus. The 24CSM01 EEPROMs are organized as 131,072 bytes of 8 bits each (128Kbytes) and optimized for consumer and industrial applications. These EEPROMs feature a 4Kbit security register and the first half is read-only. The security register contains a factory-programmed, ensured unique, and 128-bit serial number in the first 16 bytes.The 24CSM01 EEPROMs contain a configuration register that allows write protection behavior and a read-only Error Correction State latch (ECS). These serial EEPROMs utilize a built-in Error Correction Code (ECC) scheme that can correct up to one incorrectly read bit within a four-byte readout. The 24CSM01 EEPROMs support the I2C manufacturer Identification (ID) command, which will return a unique value for the 24CSM01, allowing easy identification within the application. These serial devices are available in PDIP-8, SOIC-8, SOIJ-8, UDFN-8, TSSOP-8, MSOP-8, and WLCSP-8 packages.
Features
- 1-Mbit EEPROM:
- Internally organized as one 131,072 x 8-bit
- Byte or page writes up to 256 bytes
- Byte or sequential reads
- Self-timed write cycle (5ms maximum)
- High-speed I2C interface:
- High-speed mode support for 3.4MHz
- Industry-standard: 1MHz, 400kHz, and 100kHz
- Output slope control to eliminate ground bounce
- Schmitt trigger inputs for noise suppression
- Security register:
- Preprogrammed 128-bit serial number
- User-programmable and lockable 256-byte ID page
- Built-In Error Correction Code (ECC) Logic:
- Error Correction State (ECS) latch via the configuration register
- I2C manufacturer identification function support
- Versatile data protection options:
- Hardware Write-Protect (WP) pin for full array data protection
- Enhanced software write protection via the configuration register
- 1.7V to 5.5V operating voltage range
- Low-Power CMOS technology:
- Write current: 3mA maximum at 5.5V
- Read current: 1mA maximum at 5.5V, 1MHz
- Standby current: 1µA at 5.5V (I-temp)
- High reliability:
- More than one million erase/write cycles
- Build-in ECC logic for increased reliability
- Data retention: >200 years
- ESD protection: >4000V
- Temperature ranges:
- Industrial (I): -40°C to 85°C
- Extended (E): -40°C to 125°C
- Automotive AEC-Q100 qualified
- RoHS Compliant
System Configuration Using Serial EEPROMs
Block Diagram
Inilathala: 2024-01-30
| Na-update: 2024-02-01
