Microchip Technology PIC16LF19195/6/7 64-Pin Microcontrollers

Microchip Technology PIC16LF19195, PIC16LF19196, and PIC16LF19197 64-Pin Microcontrollers feature eXtreme low-power (XLP) LCD drive combined with Core Independent Peripherals (CIPs), and intelligent analog. Features include an integrated charge pump, high current I/O drive for backlighting, and battery backup of the Real-Time Clock/Calendar (RTCC), making the PIC16LF19195, PIC16LF19196, and PIC16LF19197 MCUs ideal for battery-powered LCD applications.

A highly accurate clock source over voltage and temperature provides active clock tuning of the HFINTOSC. The 12-bit ADC controller automates Capacitive Voltage Divider (CVD) techniques for averaging, filtering, and oversampling. The PIC16LF19195, PIC16LF19196, and PIC16LF19197 MCUs support the designer in a wide array of LCD and general-purpose applications.

The Microchip Technology PIC16LF19195, PIC16LF19196, and PIC16LF19197 MCUs are available in TQFP-64, QFN-64, and VQFN-64 packages. 

Features

  • C compiler optimized RISC architecture
  • Operating speed
    • DC to 32MHz clock input
    • 125ns minimum instruction cycle
  • Interrupt capability
  • 16-level deep hardware stack
  • Timers
    • Two 8-bit (TMR2/4) timer with hardware limit timer extension (HLT)
    • 16-bit (TMR0/1)
  • Low-current power-on reset (POR)
  • Configurable power-up timer (PWRTE)
  • Brown-out reset (BOR) with fast recovery
  • Low-power BOR (LPBOR) option
  • Programmable code protection
  • Windowed Watchdog Timer (WWDT):
    • Variable prescaler selection
    • Variable window size selection
    • All sources configurable in hardware or software
  • Operating voltage range
    • 1.8V to 3.6V (PIC16LF19195/6/7)
    • 2.3V to 5.5V (PIC16F19195/6/7)
  • Temperature range
    • Industrial: -40°C to +85°C
    • Extended: -40°C to +125°C
  • Package options
    • 10.0mm x 10.0mm x 1.0mm TQFP-64
    • 9.0mm x 9.0mm x 0.9mm QFN-64
    • 9.0mm x 9.0mm s 1.0mm VQFN-64

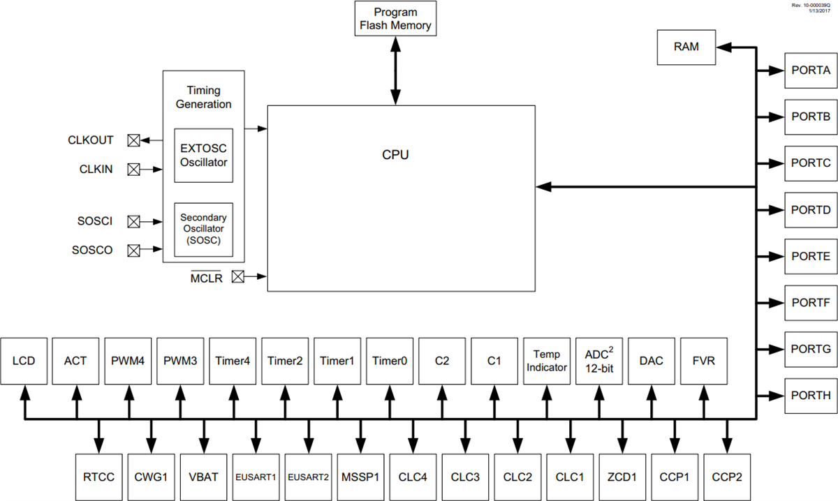
Block Diagram

Block Diagram - Microchip Technology PIC16LF19195/6/7 64-Pin Microcontrollers
Inilathala: 2017-08-02 | Na-update: 2022-03-24