Monolithic Power Systems (MPS) MPQ4326B Synchronous Step-Down Converters

Monolithic Power Systems (MPS) MPQ4326B Synchronous Step-Down Converters are configurable‑frequency step‑down regulators supporting operation from 200kHz to 2.5MHz. The MPS MPQ4326B integrates high‑side and low‑side MOSFETs to deliver 3A to 7A of efficient output current using peak‑current‑mode control for fast response and stable regulation. These converters are offered in a compact 4mm × 4mm QFN‑14 package and meet AEC‑Q100 Grade 1 automotive qualification.

With a wide 3.3V to 36V input voltage range, the MPQ4326B converters are well‑suited for a broad range of automotive step‑down applications. An ultra‑low 1µA shutdown quiescent current makes the MPQ4326B equally effective in battery‑powered systems. Efficiency remains high across varying loads thanks to automatic switching‑frequency reduction during light‑load conditions, which minimizes switching and gate‑drive losses.

An open‑drain power‑good (PG) indicator asserts when the output voltage is within 94.5% to 105.5% of the nominal level. Additional protection features include frequency foldback to prevent inductor‑current runaway at startup and thermal shutdown for robust fault tolerance. The MPS MPQ4326B devices also incorporate a high‑duty‑cycle, low‑dropout mode tailored to support cold‑crank operation in automotive environments.

Features

  • Designed for automotive applications
    • Survives 42V load dump
    • Up to 36V continuous operation
    • Low-dropout (LDO) mode
    • 3A to 7A continuous and 4A peak output current (IOUT) version in a pin-compatible family
    • 50ns minimum on time
    • -40°C to +150°C operating junction temperature range
    • Available in AEC-Q100 Grade 1
  • Increases battery life
    • Low 1μA shutdown supply current
    • 27μA sleep mode quiescent current (IQ)
    • 30μA quiescent current with switching
    • Advanced asynchronous modulation (AAM) mode increases efficiency under light loads
  • High performance for improved thermals, internal 45mΩ high-side and 25mΩ low-side MOSFET
  • Optimized for EMC/EMI
    • Configurable 200kHz to 2.5MHz switching frequency (fSW)
    • Frequency spread spectrum modulation
    • Symmetric input voltage (VIN) pinout
    • CISPR 25 Class 5 compliant
    • MeshConnect™ flip-chip package
  • 3.3V, 3.8V, and 5V fixed output options
  • Power Good (PG) output
  • Can be synchronized to an external clock
  • Over-Current Protection (OCP) with hiccup mode
  • Available in a QFN-14 (4mm x 4mm) package with wettable flanks
  • Functional safety system design capability, MPSafe™ QM system design
  • Moisture Sensitivity Level (MSL) 1
  • Lead-free, Halogen-free, and RoHS-compliant

Applications

  • Automotive infotainment
  • Automotive clusters
  • Advanced Driver-Assistance Systems (ADAS)
  • Industrial power systems

Specifications

  • 3.3V to 36V operating VIN range
  • 0.8V to 0.95 x VIN operating output (VOUT) voltage range
  • 3µA to 27µA typical VIN quiescent current range
  • 10µA maximum VIN shutdown current
  • 350kHz to 2420kHz switching frequency range
  • 50ns typical minimum on time
  • 40ns typical minimum off time
  • 0.01µA typical switch leakage current
  • 4.86W maximum continuous power dissipation
  • +155°C to +185°C theral shutdown range
  • +20°C typical thermal shutdown hysteresis
  • -40°C to +150°C operating junction temperature range
  • +260°C maximum lead temperature
  • 2.6°C/W to 7.9°C/W thermal resistance range
  • ESD ratings
    • Human body model (HBM) Class 2
    • Charged-device model (CDM) Class C2b

Typical Applications

Application Circuit Diagram - Monolithic Power Systems (MPS) MPQ4326B Synchronous Step-Down Converters

Block Diagrams

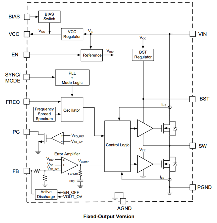
Block Diagram - Monolithic Power Systems (MPS) MPQ4326B Synchronous Step-Down Converters
Block Diagram - Monolithic Power Systems (MPS) MPQ4326B Synchronous Step-Down Converters
Inilathala: 2026-02-04 | Na-update: 2026-02-06