Murata Electronics PicoBK™ MYRLP-F-RD/RE Series DC/DC Converters
Murata Electronics PicoBK™ MYRLP-F-RD/RE Series DC/DC Converters are synchronous step-down DC/DC converters that integrate an inductor and a control IC into a miniaturized package measuring 2mm x 2.5mm x 1mm. A space-saving power supply can be configured by adding two external capacitors. These converters use an ultra-low current consumption circuit and PFM control to realize high efficiency with a light load. The 1.8V to 6V operating voltage range enables support for applications that require an internally fixed output voltage from 0.5V to 3.60V. Murata Electronics PicoBK MYRLP-F-RD/RE DC/DC Converters have a built-in undervoltage lock-out (UVLO) function and are green operation compatible. The series is also lead-free, halogen-free, and EU RoHS compliant.Features
- Integrated inductor in one package
- Designed for noise reduction
- Ceramic capacitor compatible
- Green operation compatible
- Lead-free and halogen-free
- EU RoHS compliant
Applications
- Smart meters
- Sensor modules
- Wearable devices
- Energy harvesting devices
- Low power RF
- Back-up power supply circuits
- Smart cards
- Devices with 1 lithium cell
Specifications
- 1.8V to 6.0V input voltage range
- 0.5V to 3.60V output voltage setting
- 150mA output current
- 200nA supply current at VOUT=1.8V
- 86% typical efficiency
- 2mm x 2.5mm x 1mm (W x L x H) dimensions
Typical Application Circuit
Typical Performance Characteristics
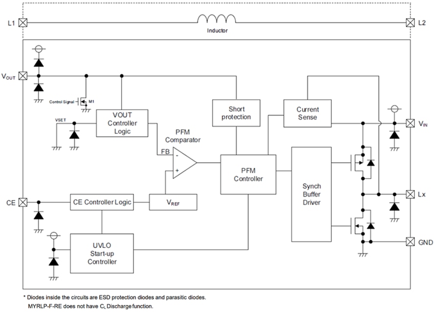
Block Diagram
Videos
Inilathala: 2022-08-29
| Na-update: 2023-08-21
