NXP Semiconductors PCA9629 Fm+ I2C-Bus Stepper Motor Controller

NXP Semiconductors PCA9629 Fm+ I2C-Bus Stepper Motor Controller is an I2C-bus controlled low-power CMOS device that provides all the logic and control required to drive a four phase stepper motor. The PCA9629 is intended to be used with external high current drivers to drive the motor coils. Three stepper motor drive formats are supported: one-phase (wave drive), two-phase, and half-step. In addition, when used as inputs, four General Purpose Input/Outputs (GPIOs) allow sensing of logic level output from optical interrupter modules and generate active LOW interrupt signal on the INT pin of PCA9629. This is a useful feature in sensing home position of motor shaft or reference for step pulses. Upon interrupt, the PCA9629 can be programmed to automatically stop the motor or reverse the direction of rotation of motor.

Output wave train is programmable using control registers. The control registers are programmed via the I²C-bus. Features built into the PCA9629A provide highly flexible control of stepper motor, off-load bus master/micro and significantly reduce I²C-bus traffic. These include control of step size, number of steps per single command, number of actions from 1 to 255 or continuous rotations and direction of rotation. Re-start motor for new speed and operation without waiting for motor stop. A ramp-up on start and/or ramp-down on stop is also provided with re-enable ramp-up or ramp-down to change the ramp rate curve on the fly.

The PCA9629A is available in a 16-pin TSSOP package and is specified over the ‑40°C to +85°C industrial temperature range.

Features

  • Generate motor coil drive phase sequence signals with four outputs for use with external high current drivers to off-load CPU
  • Four balanced push-pull type outputs capable of sinking 25mA or sourcing 25mA for glueless connection to external high current drivers needed to drive unipolar stepper motor coils
    • Up to 1000pF loads with 100 ns rise and fall times
  • Built-in 1MHz oscillator requires no external components
  • Stepper motor drive control logic
  • One-phase (wave drive), two-phase, and half-step drive format logic level outputs
  • Programmable step rate: 333.3kpps to 0.3pps with ±3% accuracy
  • Programmable ramp-up on start and ramp-down to stop
  • Programmable re-enable ramp-up or ramp-down to change ramp rate curve on the fly
  • Programmable re-start motor with new speed and operation while motor is still running
  • Programmable motor action either multiple times (1 to 255) or continuously
  • Programmable loop delay timer for motor reversal mode
  • Programmable steps with clockwise and/or counter-clockwise control
  • Direction control of motor shaft
  • Interrupt features
    • Active LOW open-drain interrupt output
    • Programmable watchdog timer with option to generate interrupt, reset device or stop motor
    • Programmable motor stop interrupt
    • Sensor enabled drive control: linked to interrupt from GPIO pins
    • Programmable interrupt Mask Control for input sources
  • Four stepper motor drive outputs (OUT0 to OUT3)
    • Configured to drive stepper motor outputs and capable to read back the last output states when motor is stopped
    • Both output phase and state can be changed at any time
    • Programmable time-out timer to set all outputs to zeros when motor is stopped
    • Configured as general purpose outputs to drive (source/sink) loads up to 25mA
  • Four general purpose I/Os (P0 to P3)
    • Configured to sense logic level outputs from optical interrupter photo transistor circuit
    • Programmable filter timer to suppress spike or noise for P0 and P1 inputs
    • Configured as outputs to drive (source/sink) LEDs or other loads up to 25mA
  • Selectable active hold (last state), power on, power off or released states for motor shaft
  • 32-bit step counter to count output steps
  • 4.5V to 5.5V operation
  • 1MHz Fast-mode Plus (Fm+) compatible I2C-bus serial interface with 30mA high drive capability on SDA output for driving high capacitive buses
  • Active LOW reset (RESET) input pin resets device to power-up default state: can be used to recover from bus stuck condition
  • All Call address allows programming of more than one device at the same time with the same parameters
  • 16 programmable slave addresses using two address pins
  • ‑40°C to +85°C operation
  • ESD protection exceeds 2000V HBM per JESD22-A114 and 1000V CDM per JESD22C101
  • Latch-up testing is done to JEDEC Standard JESD78 which exceeds 100mA
  • TSSOP16 package

Applications

  • Amusement machines
  • Gaming and slot machines
  • Consumer home appliances or toys
  • Industrial automation
  • HVAC and building climate control systems
  • Robotics

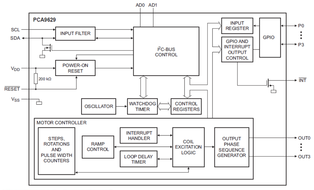
Block Diagram

NXP Semiconductors PCA9629 Fm+ I2C-Bus Stepper Motor Controller
Inilathala: 2012-04-26 | Na-update: 2022-03-11