NXP Semiconductors TJA1022 Dual LIN Transceivers
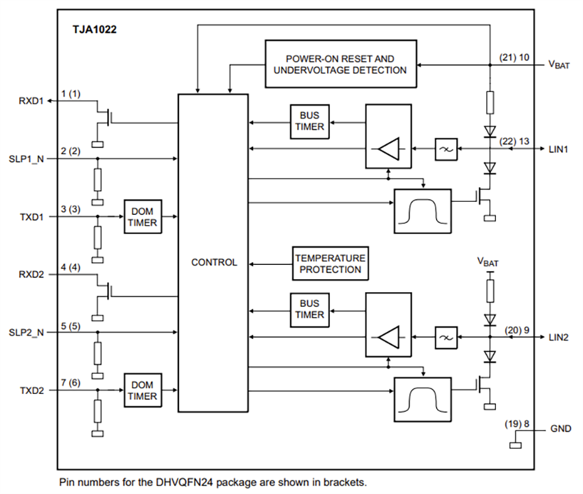
NXP Semiconductors TJA1022 Dual LIN Transceivers provide the interface between a Local Interconnect Network (LIN) master/slave protocol controller and the physical bus in a LIN network. TJA1022 transceivers are primarily intended for in-vehicle subnetworks using baud rates up to 20kBd and are compliant with LIN 2.0, LIN 2.1, LIN 2.2, LIN 2.2A, ISO 17987-4:2016 (12V LIN), and SAE J2602. The TJA1022T and TJA1022TK (SO14/HVSON14 packages) are pin compatible with the TJA1020, TJA1021, TJA1027, and TJA1029. TJA1022HG (DHVQFN24 package) is pin compatible with TJA1024. The TJA1022, TJA1024, TJA1027, and TJA1029 are software compatible.The NXP TJA1022 converts transmitted data from the protocol controller into optimized LIN bus signals designed to reduce electromagnetic emissions (EME). The LIN output pins are internally pulled HIGH using termination resistors. For master node configurations, an external resistor and diode should be connected between the VBAT pin and each LIN pin. Incoming data on the LIN bus is detected by the receivers and forwarded to the microcontroller via the RXD1 and RXD2 pins. Power consumption is very low when the transceivers are in Sleep mode. However, TJA1022 can still be woken up via pins LIN1/LIN2 and SLP1_N/SLP2_N.
Features
- 2x LIN transceivers in a single package
- LIN 2.0, LIN 2.1, LIN 2.2, LIN 2.2A, ISO 17987-4:2016 (12V LIN) and SAE J2602 compliant
- Up to 20kBd baud rate
- Very low ElectroMagnetic Emissions (EME)
- Very low current consumption in Sleep mode with remote LIN wake-up
- Input levels compatible with 3.3V and 5V devices
- Integrated termination resistors for LIN slave applications
- Passive behavior in the unpowered state
- Operational during cranking pulse - full operation from 5V upwards
- Undervoltage detection
- K-line compatible
- 14-pin variants pin-compatible with TJA1020, TJA1021, TJA1027, and TJA1029
- 24-pin variant pin-compatible subset of the TJA1024
- Software-compatible with the TJA1024, TJA1027 and TJA1029
- Proetction
- Very high ElectroMagnetic Immunity (EMI)
- Very high ESD robustness - ±8kV according to IEC 61000-4-2 for pins LIN1, LIN2, and VBAT
- Bus terminal and battery pin protected against transients in the automotive environment (ISO 7637)
- Bus terminal short-circuit proof to the battery and ground
- Thermally protected
- Initial TXD dominant check when switching to Normal mode
- TXD dominant time-out function
- Package options
- SO14 plastic package, 3.9mm body width
- Plastic, leadless HVSON14 (3.0mm x 4.5mm x 0.85mm) with improved Automated Optical Inspection (AOI) capability
- Plastic, dual in-line, leadless DHVQFN24 (3.5mm x 5.5mm x 0.85mm) with improved AOI capability
- Halogen-free and RoHS-compliant
Applications
- Body electronics
- Window lifters
- Door modules
- Seat controllers
- Sunroof systems
- Interior lighting control
- Climate control systems
- HVAC (Heating, Ventilation, and Air Conditioning) modules
- Fan and flap control units
- Infotainment and comfort
- Steering wheel controls
- Mirror adjustment systems
- Ambient lighting
- Sensor and actuator interfaces
- Rain/light sensors
- Temperature sensors
- Motor drivers
Specifications
- Battery supply voltage ranges
- -0.3V to +42V limiting values
- 5V to 18V operating
- Battery supply current ranges
- 2.5µA to 10µA in sleep and standby modes
- 300µA to 3200µA in normal mode
- ±42V voltage on the LIN pin
- 20kΩ to 60kΩ slave resistance range
- 20pF maximum capacitance on the LIN pin
- Junction-to-ambient thermal resistance
- 145K/W for SO14 package
- 50K/W for the HVSON14 package
- 42.7K/W for the DHVQFN24 package
- -40°C to +150°C virtual junction temperature
- +150°C to +200°C shutdown junction temperature range
Block Diagram
Application Circuit Diagram
Inilathala: 2025-09-09
| Na-update: 2025-09-17
