onsemi NCP705 500mA LDO Regulators
onsemi NCP705 500mA LDO Regulators are ideal for noise-sensitive RF applications such as power amplifiers in satellite radios, infotainment equipment, and precision instrumentation that require very clean power supplies. The NCP705 is a 500mA LDO that provides the engineer with a stable, accurate voltage with ultra-low noise and a high Power Supply Rejection Ratio (PSRR) suitable for RF applications. The device requires no additional noise bypass capacitor to achieve ultra-low noise performance. To optimize performance for battery-operated portable applications, the onsemi NCP705 employs dynamic IQ management for ultra-low quiescent current consumption at light-load conditions and excellent dynamic performance.Features
- 2.5V to 5.5V operating input voltage range
- Available with a 0.8V to 3.5V fixed voltage option
- Available with an adjustable voltage option of 0.8V to 5.5V VDROP
- 0.8V reference voltage
- Ultra-low 13A typical quiescent current
- Ultra-low 12VRMS noise from 100Hz to 100kHz
- Very low 230mV typical dropout at 500mA
- ±2% accuracy over load/line/temperature
- High 71dB PSRR at 1kHz
- Internal soft-start to limit the turn-on inrush current
- Thermal shutdown and current limit protections
- Stable with a 1µF ceramic output capacitor
- Active output discharge for fast turn-off
- Pb-free devices
Applications
- PDAs, mobile phones, GPS, and smartphones
- Wireless handsets, wireless LAN, BLUETOOTH®, ZigBee®
- Portable medical equipment
- Other battery-powered applications
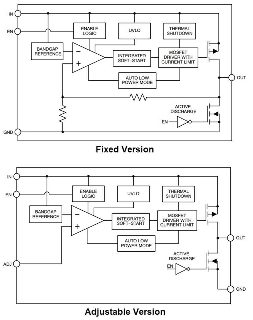
Simplified Schematic Block Diagram
Inilathala: 2025-04-21
| Na-update: 2025-05-27
