Powercast PS915 RF Field Detectors
Powercast PS915 RF Field Detectors enable simple RF field detection in the 902MHz to 928MHz ISM (Industrial, Scientific and Medical)band. These field detectors offer red or green LED color options and work with TX91501 transmitters or any UHF RFID reader. The PS915 field detectors utilize Powercast's Powerharvester technology to convert RF energy into DC power which is supplied to the onboard LED. These field detectors feature varying LED brightness levels according to the amount of RF energy harvested.Features
- Dipole antenna type
- Vertical polarization
- Omni-directional antenna pattern
- Red and green LED color variants
Specifications
- 850MHz to 950MHz frequency range
- -40°C to 85°C operating temperature range
Applications
- RF field visualization
- RFID testing and installation
- Polarization verification
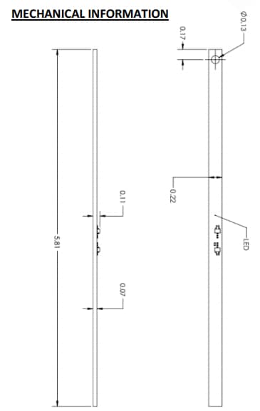
Mechanical Drawing
Inilathala: 2017-12-29
| Na-update: 2022-06-02
