Renesas Electronics RL78/G22 Capacitive Touch Evaluation System
Renesas Electronics RL78/G22 Capacitive Touch Evaluation System is a kit designed for evaluating the RL78/G22 of microcontrollers. This kit evaluates various touch functions (button, slider, and wheel) and works as a reference while designing boards or software. The RL78/G22 kit features E2/E2 Lite debugger connector, general-purpose switches and LEDs, and a capacitive touch sensor (CTSU2La) (29 channels available). The RL78/G22 capacitive touch evaluation system complies with IEC 61000-4-3 and IEC 61000-4-6 Level 3.Features
- E2/E2 Lite debugger connector microcontroller programming and debugging
- General-purpose switches and LEDs
- Evaluate various touch functions (button, slider, and wheel)
- Simple prototyping
- Used as a reference when designing boards or software
- RL78/G22 MCU (R7F102GGE2DFB) mounted
- Capacitive touch sensor (CTSU2La) terminal 29 channels available
- Easily adjust the sensitivity by using QE for capacitive touch:
- Easy operation with an intuitive interface
- Easy to develop touch interfaces even for beginners with GUI
- Automatically output adjusted source code
- Compliant with IEC 61000-4-3 and IEC 61000-4-6 level 3
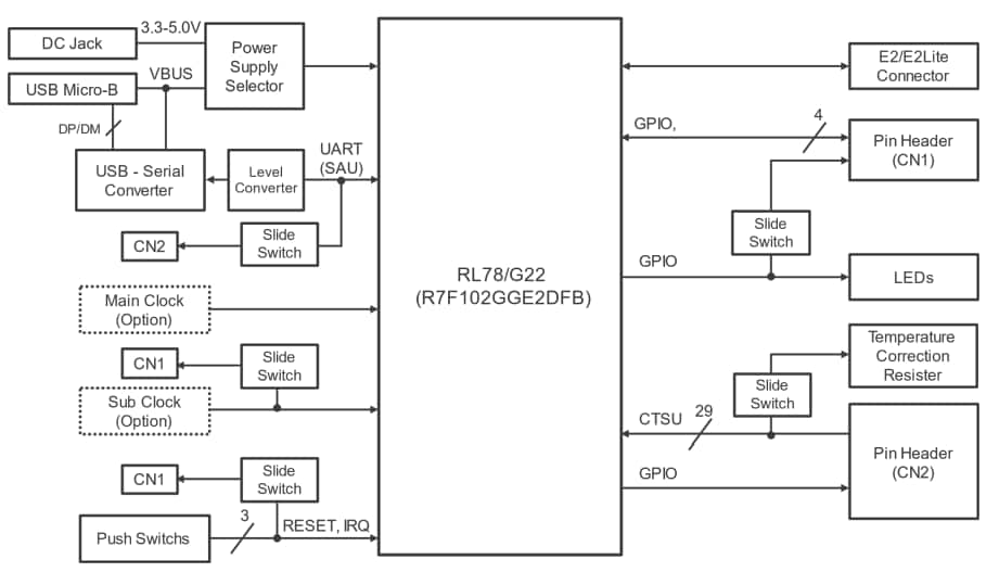
Block Diagram
Additional Resources
- Application Note: RL78/G22 Capacitive Touch Low Power Guide
- Application Note: Capacitive Sensor MCU
- Application Note: RL78 CTSU Module Software Integration System
- Application Note: RL78 TOUCH Module Software Integration System
- Application Note: MCU Capacitive Touch Noise Immunity Guide
- Application Note: RL78 Using QE and SIS to Develop Capacitive Touch Applications
- Application Note: CTSU Capacitive Touch Introduction Guide
- Application Note: RA, RL78, RX, Synergy CTSU Self Test Software
- Application Note: RL78/G22 Capacitive Touch Evaluation System Sample Code
- Application Note: RL78/G22 Sample S/W UI demo using MEC function
- Application Note: CTSU Capacitive Touch Electrode Design Guide
Inilathala: 2023-03-24
| Na-update: 2023-10-02
