ROHM Semiconductor BD41041FJ-C Automotive CAN Transceiver
ROHM Semiconductor BD41041FJ-C Automotive CAN Transceiver is a transceiver LSI for CAN communication (Fully ISO 11898-2:2016 compliant). It is equipped with circuitry that functions as transmitter and receiver, necessary for High-speed CAN communication (up to 1Mbps). The ROHM Semiconductor BD41041FJ-C is AEC-Q100 qualified, has a transmission rate of 40kbps to 1Mbps, and has power-saving mode correspondence.Features
- AEC-Q100 qualified
- A transmission rate of 40kbps to 1Mbps
- Power saving mode correspondence
- SPLIT voltage output for stabilizing recessive bus level
- Under-voltage detection function
- Thermal Shutdown (TSD) function
- TXD dominant time-out function (normal mode)
- CAN bus dominant time-out function (standby mode)
- Bus wake-up capability
Specifications
- 4.75V to 5.25V recommended operating voltage range
- -0.3V to +7.0V VCC, TXD, RXD, STB absolute maximum rating
- -27V to +40V CANH, CANL, SPLIT absolute maximum rating
Applications
- CAN Communication for Automotive Networks
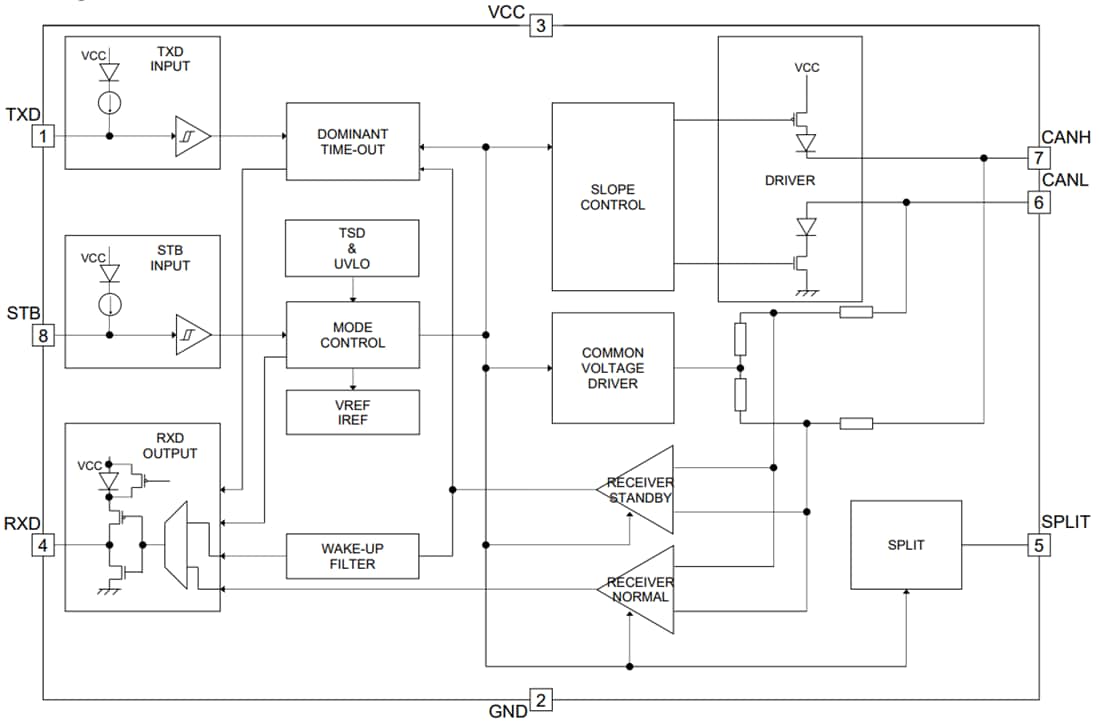
Block Diagram
Inilathala: 2022-05-27
| Na-update: 2022-05-31
