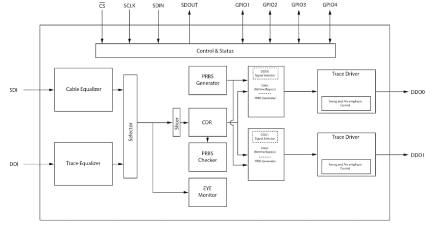
Semtech GS12142 Adaptive Cable Equalizers
Semtech GS12142 Adaptive Cable Equalizers are low-power and multi-rate equalizers that support rates of up to 12G UHD-SDI, inclusive of 10GbE. These equalizers feature an integrated cable equalizer, trace equalizer, and trace driver. The cable equalizer equalizes and restores signals received over 80m coaxial cable at 12G, retimes the incoming data, and compensates for DC content of SMPTE pathological signals. The GS12142's trace equalizer input receives 100Ω differential input signals and supports up to 17dB of insertion loss. These Semtech adaptive cable equalizers consist of an integrated eye monitor that provides non-disruptive mission mode analysis of the post-equalized input signal.The GS12142 equalizers offer GSPI serial control and monitoring interface, 1.2V, 1.8V, or 2.5V for trace driver output supply, and configurable GPIO pins. These equalizers are ideal for use in cameras, switchers, distribution amplifiers, and routers.
Features
- Dual input/output equalizer with 2:1 input selector featuring
- 75Ω single-ended cable equalizer
- 100Ω differential trace equalizer
- SMPTE ST 2082-1, ST 2081-1, ST 424, ST 292-1, and ST 259 compliant input/output
- Multi-standard operation from 1Mb/s to 11.88Gb/s
- Supports re-timing of DVB-ASI at 270Mb/s and MADI @ 125Mb/s and 10GbE
- 3D input signal eye monitor
- PRBS generator and checker
- Automatic cable equalization with typical equalized cable lengths of Belden 1694A cable:
- 80m @ 11.88Gb/s
- 100m @ 5.94Gb/s
- 190m @ 2.97Gb/s
- 260m @ 1.485Gb/s
- 450m @ 270Mb/s and 125Mb/s
- Trace driver
- Integrated 100Ω differential output termination
- Extends output DC-coupling support with 1.2V to 2.5V output supply range
- Trace driver data output pre-emphasis to compensate for up to 20" FR4 @ 11.88Gb/s
- Manual or automatic re-timer bypass
- Manual or automatic mute or disable on LOS
- Trace equalizer
- Integrated 100Ω differential input termination
- Automatic power down on loss of signal
- Trace equalization to compensate for up to 20"FR4 @ 11.88Gb/s
- Automatic input offset compensation
- DC-coupling from 1.2V to 2.5V CML logic
- Cable equalizer
- Automatic power down on loss of signal
- Programmable carrier detect with squelch threshold adjustment
- Programmable launch swing compensation for non-compliant source
- Manual and automatic cable equalizer bypass
- CDR
- Manual or automatic rate modes
- Wide loop bandwidth control
- Re-timing at 125Mb/s, 270Mb/s, 1.485Gb/s, 2.97Gb/s, 5.94Gb/s, 11.88Gb/s, and 10.3125Gb/s
Applications
- Cameras
- Switchers
- Distribution amplifiers
- Routers
Specifications
- Single 1.8V power supply for analog and digital core
- 1.2V, 1.8V, or 2.5V for trace driver output supply
- GSPI serial control and monitoring interface
- 4x configurable GPIO pins for control or status monitoring
- -40°C to +85°C wide operating temperature range
- 6mm x 4mm 40-pin QFN
- Lead-free/halogen-free
- RoHS and WEEE compliant
Block Diagram
Application Circuit
Inilathala: 2019-11-27
| Na-update: 2023-06-15
