STMicroelectronics STM32WB09 BLUETOOTH® Low Energy 5.4 32-Bit MCUs

STMicroelectronics STM32WB09 BLUETOOTH® Low Energy 5.4 32-Bit MCUs embed state-of-the-art 2.4GHz RF radio peripherals optimized for ultra-low power consumption and excellent radio performance for unparalleled battery lifetime. The STM32WB09 is compliant with Bluetooth Low Energy SIG core specification version 5.4, managing point-to-point connectivity and Bluetooth Mesh networking, and enables the reliable establishment of large-scale device networks. The STM32WB09 is also ideal for 2.4GHz proprietary radio wireless communication to address ultra-low latency applications.

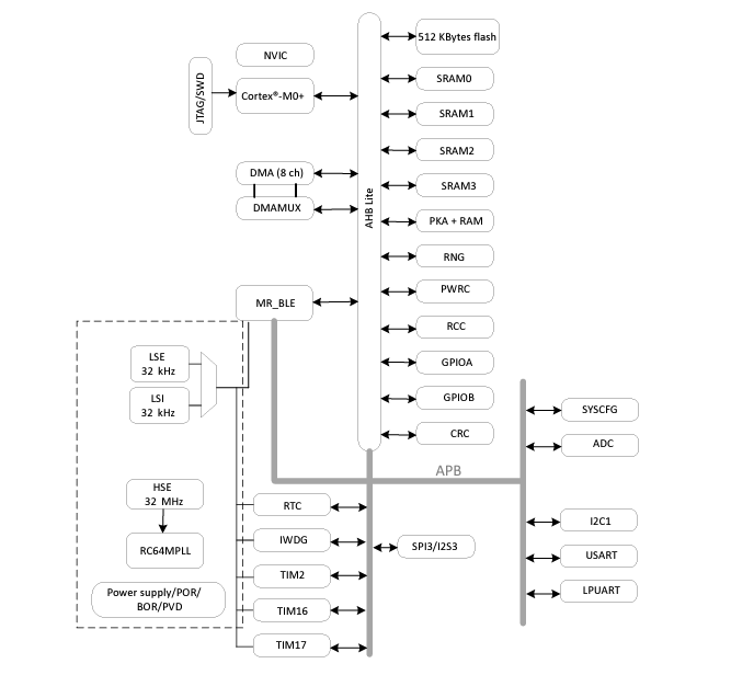
The STM32WB09 integrates an Arm® Cortex®-M0+ microprocessor that operates up to 64MHz and a radio core coprocessor (DMA-based) for BLE timing critical operations. Additionally, the STM32WB09 supplies enhanced security hardware support through dedicated hardware functions: a true random number generator (TRNG) supporting NIST special publication 800-90B, a security co-processor for 128-bit AES encryption, a CRC calculation unit, a 64-bit unique ID, flash memory read and write protection, and a public key accelerator (PKA).

The STM32WB09 can be configured to support standalone or network processor applications. In the first configuration, the STM32WB09 operates as a single device running the application code and the BLE stack. The STM32WB09 embeds the following high-speed memory types: 512Kbyte flash memory, 64Kbyte RAM, 1Kbyte one-time-programmable (OTP) memory area, and 7Kbyte ROM (ST reserved area). Direct data transfer between memory and peripherals and from memory to memory is supported by eight DMA channels with a complete flexible channel mapping by the DMAMUX peripheral.

The STM32WB09 embeds a 12-bit ADC, allowing measurements of up to eight external and three internal sources, including battery monitoring and a temperature sensor. The STM32WB09 has a low-power RTC and one advanced 16-bit timer. The STM32WB09 features standard and advanced communication interfaces: 1x SPI-I2, LPUART, 1x USART supporting ISO 7816 (SmartCard mode), IrDA and Modbus mode, 2x I2C supporting SMBus/PMBus.

The STM32WB09 operates in the -40°C to +105°C (+125°C junction) temperature range from a 1.7V to 3.6V power supply. A comprehensive set of power-saving modes facilitates the configuration of low-power applications. The STM32WB09 integrates a high-efficiency SMPS step-down converter and an integrated PDR circuitry with a fixed threshold that generates a device reset when the VDD drops under 1.65V. The STM32WB09 is available in VFQFPN32 and WLCSP36 packages that support up to 20 I/Os.

Features

  • Includes ST state-of-the-art patented technology
  • Bluetooth Low Energy system-on-chip supporting Bluetooth 5.4 specifications
    • 2Mbit/s data rate
    • Long range (Coded PHY)
    • Advertising extensions
    • Channel selection algorithm #2
    • GATT caching
    • Direction finding - angle of arrival (AoA)/ angle of departure (AoD)
    • Simultaneous connections
    • Concurrent link-layer roles
    • Low Energy data packet length extension
    • Low Energy ping procedure
    • Periodic advertising and periodic advertising sync transfer
    • Periodic advertising with a response
    • Advertising coding selection
    • Encrypted advertising
    • Low Energy L2CAP connection-oriented channel
    • Low Energy power control and path loss monitoring
    • Low Energy channel classification
    • Enhanced ATT (EATT)
    • Connection subrating
    • Broadcast isochronous streams (BIS)
    • Connection isochronous streams (CIS)
  • Radio
    • RX sensitivity level of -97dBm at 1Mbit/s, -104dBm at 125Kbit/s (long range)
    • Programmable output power up to +8dBm (at antenna connector) 128 physical connections
    • Data rate supported of 2Mbit/s, 1Mbit/s, 500Kbit/s and 125Kbit/s
    • Integrated balun
    • Support for external PA and LNA
    • BlueNRG core coprocessor (DMA based) for Bluetooth Low Energy time critical operations
    • 2.4GHz proprietary radio driver
    • Suitable for systems requiring compliance with the following radio frequency regulations: ETSI EN 300 328, EN 300 440, FCC CFR47 part 15, ARIB STD-T66
    • Available integrated passive device (IPD) companion chip for optimized matching and filtering
  • Ultra-low power radio performance
    • 12nA in Shutdown mode (1.8V)
    • 0.9µA in Deepstop mode (with external LSE, radio wakeup source, and RAM retained, 1.8V)
    • 1.2µA in Deepstop mode (with internal LSI, radio wakeup source, and RAM retained, 1.8V)
    • 4.9mA peak current in TX (at 0dBm, 3.3V)
    • 3.6mA peak current in RX (at sensitivity level, 3.3V)
  • High performance and ultra-low power 32-bit Arm Cortex-M0+, running up to 64MHz
  • Operating supply voltage from 1.7V to 3.6V
  • Enhanced security mechanisms such as
    • Flash read/write protection
    • SWD disabling
    • Secure bootloader
  • Dynamic current consumption from 14.47µA/MHz
  • -40°C to 105°C temperature range
  • Supply and reset management
    • High-efficiency embedded SMPS step-down converter with intelligent bypass mode
    • Ultra-low power power-on-reset (POR) and power-down-reset (PDR)
    • Programmable voltage detector (PVD)
  • Clock sources
    • 64MHz PLL
    • Fail-safe 32MHz crystal oscillator with integrated trimming capacitors
    • 32kHz crystal oscillator
    • Internal low-power 32kHz RO
  • On-chip non-volatile flash memory of 512Kbytes with page protection against R/W
  • On-chip RAM of 64Kbytes and 4Kbytes PKA RAM
  • One-time-programmable (OTP) memory area of 1Kbytes
  • Embedded UART bootloader
  • Ultra-low power modes with or without timer and RAM retention
  • Quadrature decoder
  • Security features
    • True random number generator (TRNG) compliant with NIST special publication 800B-90B
    • Hardware encryption AES maximum 128-bit security co-processor
    • Hardware public key accelerator (PKA)
    • Cryptographic algorithms: RSA, Diffie-Helman, ECC over GF(p)
    • CRC calculation unit
    • 64-bit unique ID
  • System peripherals
    • 1x DMA controller with 8 channels supporting ADC, SPI, 12C, USART, LPUART, Timers
    • 1x SPI with I2S interface multiplexed
    • 1x I2C (SMBus/PMBus)
    • 1x LPUART (low power)
    • 1x USART (ISO 7816 smartcard mode, IrDA, SPI master and Modbus)
    • 1x independent WDG
    • 1x real-time clock (RTC)
    • 1x independent SysTick
    • 1x 16-bit, four channels general-purpose timer
    • 2x 16-bit two channels general-purpose timer
    • Infrared interface
  • Up to 20 fast V/Os
    • All of them with wake-up capability
    • All of them retain the state in low-power mode
    • All of them 5V tolerant
  • Analog peripherals
    • 12-bit ADC with 8 input channels, up to 16-bits with a down sampler
    • Battery monitoring
    • Analog watchdog
  • Development support
    • Serial wire debug (SWD)
    • 4 breakpoints and two watchpoints
  • All packages are ECOPACK2 compliant

Applications

  • Industrial
  • Home and industrial automation
  • Asset tracking, ID location, and real-time locating system
  • Smart lighting
  • Assisted living
  • Fitness, wellness, and sports
  • Healthcare and consumer medical
  • Security/proximity
  • Remote control
  • Mobile phone peripherals
  • PC peripherals

Circuit Diagram

Application Circuit Diagram - STMicroelectronics STM32WB09 BLUETOOTH® Low Energy 5.4 32-Bit MCUs

Block Diagram

Block Diagram - STMicroelectronics STM32WB09 BLUETOOTH® Low Energy 5.4 32-Bit MCUs

Videos

Inilathala: 2024-08-29 | Na-update: 2025-08-26