Texas Instruments AWRL6432-Q1 Automotive mmWave Radar Sensors
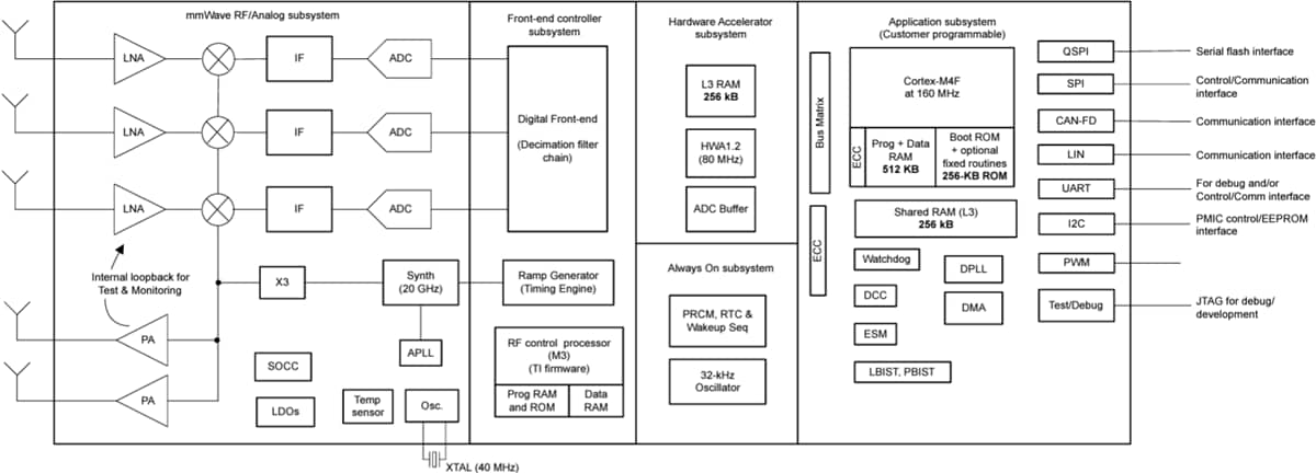
Texas Instruments AWRL6432-Q1 Automotive mmWave Radar Sensors are integrated single-chip mmWave sensors based on FMCW radar technology. These radar sensors are AEC-Q100 qualified for automotive applications and operate at 57GHz to 63.9GHz coverage with 7GHz continuous bandwidth. The AWRL6432-Q1 radar sensors are divided into four power domains such as RF/Analog sub-system, Front-End Controller Sub-System (FECSS), Application Sub-System (APPSS), and Hardware Accelerator (HWA). These radar sensors feature built-in firmware and a built-in LDO network for enhanced PSRR. The radar sensors support multiple low-power modes, such as idle mode and deep sleep mode. The low-power sleep mode is achieved by clock gating and by turning off the internal IP blocks of the device. Typical applications include interior cabin sensing, child presence detection, occupancy detection, seat belt reminder, intruder detection, gesture-based HMI, and driver vital sign monitoring.Features
- AEC Q-100 qualified
- FMCW transceiver:
- Integrated PLL, transmitter, receiver, baseband, and ADC
- 57GHz to 64GHz coverage with 7GHz continuous bandwidth
- 3 receive channels and 2 transmit channels
- Up to 25m typical range
- 11dBm typical output power per Tx
- 11dB typical noise figure
- -89dBc/Hz typical phase noise at 1MHz
- FMCW operation
- 5MHz IF bandwidth, real-only Rx channels
- Ultra-accurate chirp engine based on fractional-N PLL
- Per transmitter binary phase shifter
- Processing elements:
- Arm® M4F® core with single precision FPU (160MHz)
- Radar Hardware Accelerator (HWA 1.2) for FFT, log magnitude, and CFAR operations (80MHz)
- Power management:
- 1.8V and 3.3V IO support
- Built-in LDO network for enhanced PSRR
- BOM-optimized and power-optimized modes
- One or two power rails for 1.8V IO mode, two or three power rails for 3.3V IO mode
- Host interface:
- UART
- CAN-FD
- SPI
- LIN
- Radar Data Interface (RDIF) for raw ADC sample capture
- Built-in calibration and self-test:
- Built-in firmware (ROM)
- Self-contained on-chip calibration system
- Other interfaces available to user application:
- QSPI
- I2C
- JTAG
- GPIOs
- PWM interface
- Internal memory:
- 1MB of on-chip RAM
- Configurable L3 shared memory for radar cube
- Data and code RAM of (512KB/640KB/768KB)
- Functional safety-compliant targeted:
- Developed functional safety applications
- Hardware integrity up to ASIL-B targeted
- Supports multiple low-power modes:
- Idle mode and deep sleep mode
- FCCSP package:
- 12 x 12 BGA grid
- 102 BGA balls
- 6.45mm x 6.45mm package size
- Clock source:
- 40MHz crystal for the primary clock
- Supports externally driven clock (Square/Sine) at 40MHz
- 32kHz internal oscillator for low-power operations
- -40°C to 125°C operating junction temperature range
Applications
- Interior cabin sensing
- Child presence detection
- Occupancy detection
- Seat belt reminder
- Intruder detection
- Gesture based HMI
- Driver vital sign monitoring
Block Diagram
Additional Resource
Inilathala: 2024-04-19
| Na-update: 2025-05-08
