Texas Instruments DACx1402 Dual-Channel Digital-to-Analog Converter

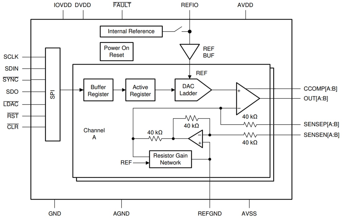
Texas Instruments DACx1402 Dual-Channel Digital-to-Analog Converter (DAC) is a 16-bit (DAC81402) or 12-bit (DAC61402), dual-channel, buffered, high-voltage-output DAC. The device includes a low-drift, 2.5V internal reference that eliminates the need for an external precision reference in most applications. The device is specified monotonic and provides high linearity of ±1LSB INL. Additionally, the device implements per-channel sense pins that eliminate IR drops and sense up to ±12V of ground bounce.

A user-selectable output configuration enables full-scale bipolar output voltages: ±20V, ±10V, and ±5V and full-scale unipolar output voltages: 40V, 20V, 10V, and 5V. The full-scale output range for each DAC channel is independently programmable. The integrated DAC output buffers can sink or source up to 15mA, thus limiting the need for additional operational amplifiers.

The Texas Instruments DACx1402 incorporates a power-on-reset circuit that connects the DAC outputs to ground at power-up. The outputs remain in this mode until the device is correctly configured. The device includes additional reliability features such as a CRC error check, short-circuit protection, and a thermal alarm. Communication to the device is performed through a 4-wire serial interface that supports operation from 1.7V to 5.5V.

Features

  • Performance
    • Specified monotonic at 16-bit or 12-bit resolution
    • INL - ±1LSB maximum at 16-bit or 12-bit resolution
    • TUE - ±0.05% FSR, maximum
  • Integrated output buffer
    • Full-scale output voltage (±5V, ±10V, ±20V, 5V, 10V, 20V, 40V)
    • ±15mA high drive capability
    • Per-channel sense pins
  • Integrated 2.5V precision reference
    • ±2.5mV (maximum) initial accuracy
    • 10ppm/°C (maximum) low drift
  • Reliability features
    • CRC error check
    • Short circuit limit
    • Fault pin
  • 50MHz, SPI-compatible serial interface
    • 4-wire mode, 1.7V to 5.5V operation
    • Readback and daisy-chain operations
  • –40°C to +125°C temperature range
  • 5mm × 5mm, 32-pin QFN package

Applications

  • Servo drive control module
  • Analog output module
  • Lab and field Instrumentation
  • Data acquisition (DAQ)
  • Semiconductor test

Functional Block Diagram

Block Diagram - Texas Instruments DACx1402 Dual-Channel Digital-to-Analog Converter
Inilathala: 2020-12-18 | Na-update: 2024-10-22