Texas Instruments DRV10983/DRV10983-Q1 Sensorless BLDC Motor Driver
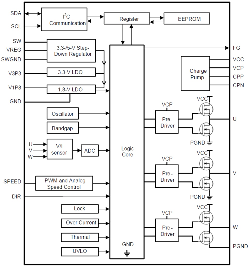
Texas Instruments DRV10983/DRV10983-Q1 Three-Phase Sensorless BLDC Motor Driver is a three-phase sensorless motor driver with integrated power MOSFETs, which can provide continuous drive current up to 2A. The device is specifically designed for cost-sensitive, low-noise/low external component count applications. The DRV10983/DRV10983-Q1 uses a proprietary sensorless control scheme to provide continuous sinusoidal drive, which significantly reduces the pure tone acoustics that typically occur as a result of commutation. The interface to the device is designed to be simple and flexible. The motor can be controlled directly through PWM, analog, or I2C inputs. Motor speed feedback is available through either the FG pin or I2C. The DRV10983-Q1 devices are AEC-Q100 qualified for automotive applications.Features
- Input Voltage Range: 8 to 30V
- Total Driver H + L RDSon: 250mΩ
- Drive Current: 2A Continuous (3A Peak)
- Sensorless Proprietary Back Electromotive Force (BEMF) Control Scheme
- Continuous Sinusoidal 180° Commutation
- No External Sense Resistor Required
- For Flexibility User may Include External Sense Resistor to Monitor Power Delivered to the Motor
- Flexible User Interface Options
- I2C Interface: Access Registers for Command and Feedback
- Dedicated SPEED Pin: Accepts Either Analog or PWM Input
- Dedicated FG Pin: Provides TACH Feedback
- Spin Up Profile can be Customized With EEPROM
- Forward/Reverse Control With DIR Pin
- Integrated Buck/Linear Converter to Efficiently Provide Voltage (5V/3.3V) for Internal and External Circuits
- Supply Current 3.5mA With Standby Version (DRV10983)
- Overcurrent Protection
- Lock Detection
- Voltage Surge Protection
- UVLO Protection
- Thermal Shutdown Protection
- Thermally Enhanced 24-Pin HTSSOP
Applications
- Appliance Fan
- HVAC
Datasheets
Functional Block Diagram
TI Reference Designs Library
Inilathala: 2014-08-19
| Na-update: 2022-03-11
