Texas Instruments DRV81545 Four-Channel Low-Side Switch Driver

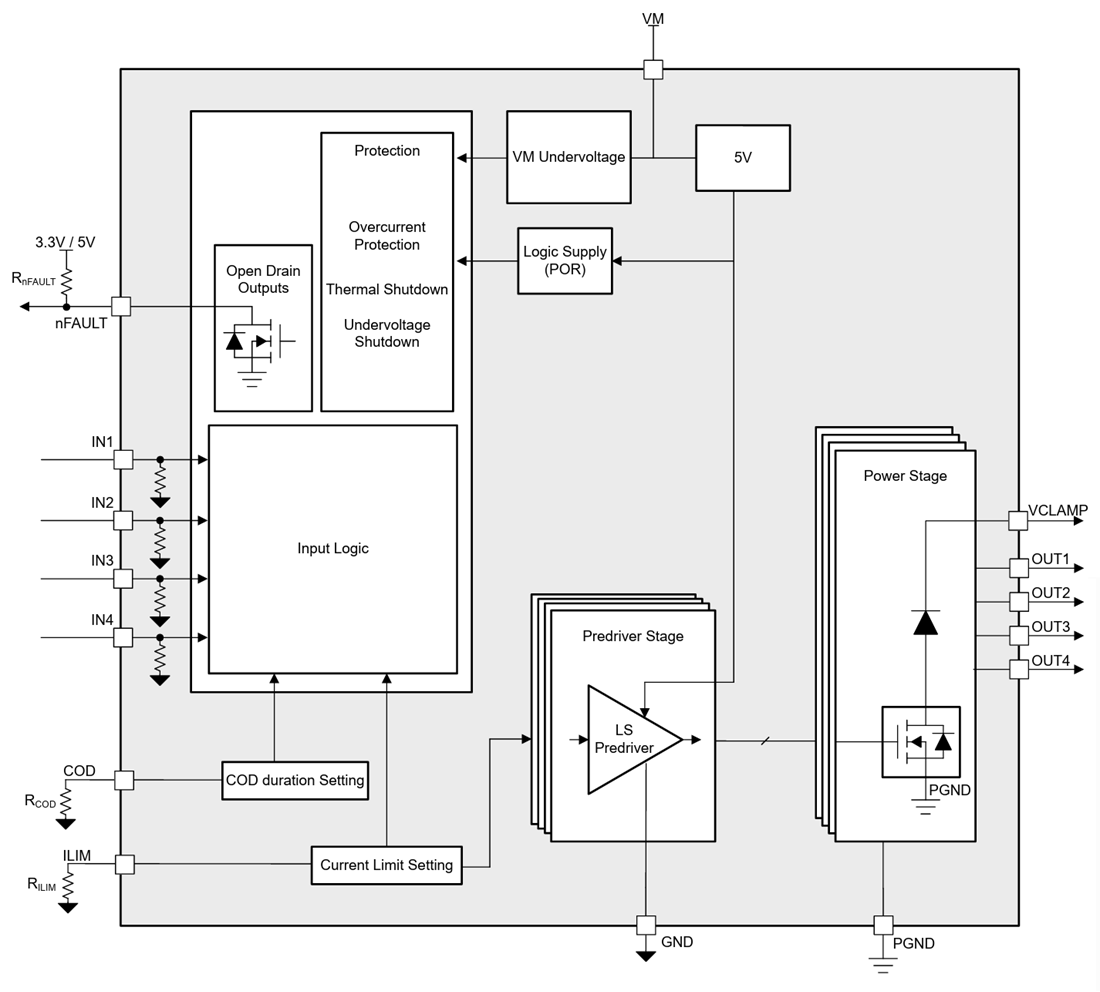
Texas Instruments DRV81545 Four-Channel Low-Side Switch Driver operates from 4.5V to 55V and supports a wide range of load currents. The device integrates four low-side switches with an RDS(ON) of 235mΩ, each with a freewheeling diode to the VCLAMP pin. This feature allows the user to either recirculate current or connect an external TVS for inductive load turn-off.

The Texas Instruments DRV81545 can be controlled through a hardware GPIO interface. Each channel features individual overtemperature protection, and an analog current limit adjustable with an external resistor on the ILIM pin. There is an optional cut-off delay (COD) configuration that limits the duration of a current-limiting condition on the respective channel, helping to prevent damage to the device or the load. Faults are indicated on a fault output pin (nFAULT).

Features

  • Four-channel integrated low-side switches
    • 235mΩ RDS(ON) at 25°C
    • Output stage 55V operating maximum (60V absolute maximum)
    • 4.5V low minimum operating supply voltage range with stable RDS(ON) across voltage
    • Selectable current limit from 0.5A up to 3A per channel
    • Integrated catch diodes for flexible decay (external TVS/Zener) as an alternate current path on switch turn-off
  • Hardware INx interface for fast switching up to 250kHz
  • Diagnostic feedback with an MCU fault interrupt signal (nFAULT)
  • Thermally enhanced surface mount package (PWP20)
  • Protection features
    • User-settable current limit
    • Independent overtemperature, overcurrent protection for each switch
    • Configurable over-current cut-off delay (COD)

Applications

  • PLC
  • Distributed I/O
  • Field devices
  • General relay and solenoid drive
  • Textile machines

Functional Block Diagram

Block Diagram - Texas Instruments DRV81545 Four-Channel Low-Side Switch Driver
Inilathala: 2026-01-21 | Na-update: 2026-01-28