Texas Instruments DRV81646 Four-Channel Low-Side Switch Drivers

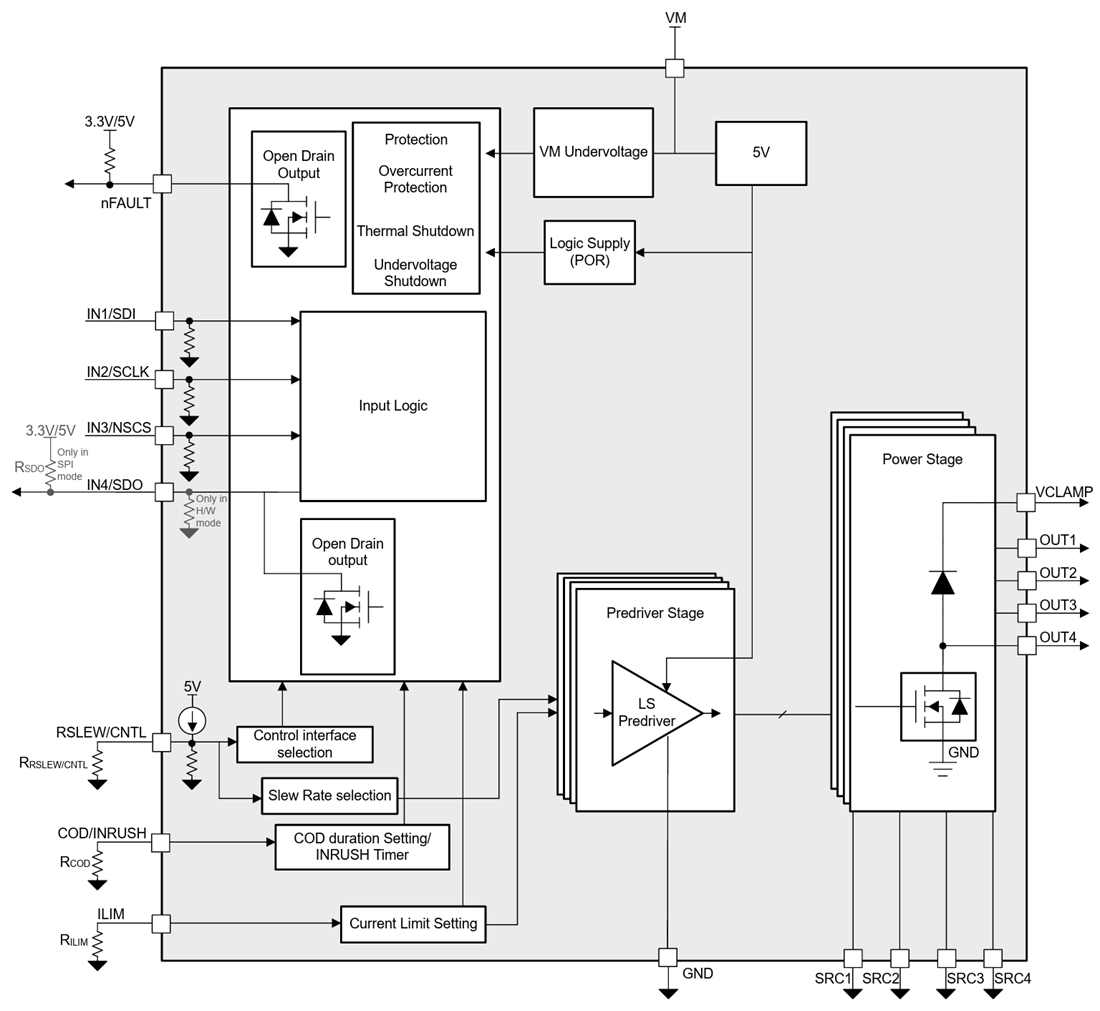
Texas Instruments DRV81646 Four-Channel Low-Side Switch Drivers operate from 4.5V to 65V and support a wide range of load currents. These devices integrate four low-side switches with an RDS(ON) of 140mΩ, each with a freewheeling diode to the VCLAMP pin. This feature allows the user to either recirculate current or connect an external TVS for inductive load turn-off.

The Texas Instruments DRV81646 can be controlled through a hardware GPIO interface. Each channel features individual overtemperature protection and an analog current limit adjustable with an external resistor on the ILIM pin. There is an optional cut-off delay (COD) configuration that limits the duration of a current-limiting condition on the respective channel, helping to prevent damage to the device or the load. The output slew rates are configurable by setting a resistor on the RSLEW/CNTL pin, providing further flexibility in controlling the output switches. The device has an INRUSH mode, boosting the current limit threshold for capacitive loads.

The DRV81646 provides a fault output pin (nFAULT) to indicate fault conditions, and per-channel fault status can be monitored in SPI mode. This feature allows the user to quickly identify and respond to any faults that occur.

Features

  • Four-channel integrated low-side switches
    • 140mΩ RDS(ON) at 25°C
    • Operating supply voltage range: 4.5V to 65V (70V absolute maximum)
    • Selectable current limit from 0.5A up to 4A per channel
    • Fast PWM switching up to 500kHz
  • Flexible interface options
    • Hardware interface with an independent channel PWM input
    • SPI enables a reduction in GPIO and isolation overhead for high channel count designs
  • Integrated catch diodes for flexible decay modes with optional external TVS/Zener diode as alternate current path on switch turnoff
  • Slew rate configurable (100ns – 1500ns) enables both slow/fast switching applications
  • Diagnostic feedback
    • MCU fault interrupt signal (nFAULT)
    • Per-channel fault report available through SPI
  • Protection Features
    • User-settable current limit
    • Independent overtemperature and overcurrent protection for each channel
    • Configurable overcurrent cut-off delay (COD) 0.5ms-2ms

Applications

  • PLC
  • Distributed I/O
  • Field devices
  • General relay and solenoid drive
  • Textile machines

Functional Block Diagram

Block Diagram - Texas Instruments DRV81646 Four-Channel Low-Side Switch Drivers
Inilathala: 2026-01-21 | Na-update: 2026-01-28