Texas Instruments PGA308EVM Evaluation Module (EVM)
Texas Instruments PGA308EVM Evaluation Module (EVM) is used to evaluate the PGA308 mixed-signal programmable gain amplifier. The evaluation module comprises a PGA308 Test Board and a USB DAQ Platform. The PGA308 Test Board contains the PGA308, terminal strips for external connections, several jumpers for device configuration, and support circuitry. The PGA308 Test Board can be used to test your design before prototyping fully. The USB DAQ Platform contains an 8052 microcontroller with a built-in USB interface. The microcontroller generates the one-wire signals necessary to communicate with the Texas Instruments PGA308. The USB DAQ Platform has a 3V/5V programmable linear regulator. It also includes a switch for power control, general-purpose digital I/O, DAC outputs, and A/D inputs.Features
- Flexible hardware allows for full testing of the prototype
- Evaluation module hardware generates and measures all required signals
- Software for sensor calibration provided
- Connections for external sensors provided
- Sensor emulator allows out-of-the-box testing
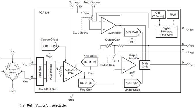
Typical Bridge Sensor Application
Inilathala: 2019-10-15
| Na-update: 2023-12-11
