Texas Instruments TAS5828M 50W Stereo Class-D Amplifier
Texas Instruments TAS5828M 50W Stereo Class-D Amplifier is a stereo high-performance, closed-loop Class-D with an integrated audio processor with up to 192kHz architecture. After startup with Software Control Mode, TAS5828M implements classic BQs, 3-Band DRC, AGL, and a proprietary algorithm called HybridPro. The Hybrid-Pro algorithm detects the upcoming audio power demand and provides a PWM format control signal for the former DC-DC converter via the Hybrid-Pro feedback pin (HPFB). The Texas Instruments TAS5828M supports up to 4ms of delay buffer of the audio signal for predictable envelop tracking, which helps prevent audio clipping due to DC-DC voltage adjustment.While setting into Hardware control mode, the TAS5828M supports switching frequency, analog gain, BTL/PBTL mode, and cycle by cycle current limit threshold through pin configuration. This mode is specially designed to eliminate end system software driver integration efforts.
Features
- Flexible audio I/O
- Supports 32, 44.1, 48, 88.2, 96, 192kHz sample rates
- I2S, LJ, RJ, TDM, SDOUT for audio monitoring, sub-channel or echo cancellation
- Supports 3-wire digital audio interface (no MCLK required)
- High-efficiency Class-D modulation
- > 90% power efficiency, 90mΩ RDSon
- Supports multiple output configurations
- 2 × 50W, 2.0 Mode (4Ω, 23V, THD+N=1%)
- 2 × 40W, 2.0 Mode (6Ω, 24V, THD+N=1%)
- 1 × 100W, 1.0 Mode (2Ω, 23V, THD+N=1%)
- 1 × 80W, 1.0 Mode (3Ω, 24V, THD+N=1%)
- Excellent audio performance
- THD+N ≤ 0.03% at 1W, 1kHz, PVDD = 12V
- SNR ≥ 110dB (A-weighted), ICN ≤ 40µVRMS
- Flexible processing features
- 3-Band advanced DRC + two BQs + AGL + two BQs
- 12 BQs per channel, level meter
- 96kHz, 192kHz processor sampling
- Mixer, volume, dynamic EQ, output crossbar
- PVDD sensing and hybrid-pro algorithm audio signal tracking
- Flexible power supply configurations
- PVDD: 4.5V to 26.4V
- DVDD and I/O: 1.8V or 3.3V
- Excellent integrated self-protection
- Over-current error (OCE)
- Cycle-by-cycle current limit
- Over-temperature warning (OTW)
- Over-temperature error (OTE)
- Under and over-voltage lock-out (UVLO/OVLO)
- PVDD voltage drop detection
- Easy system integration
- I2C software or hardware control mode
- Fewer passive components are required compared with open-loop device
Applications
- Battery-powered speaker
- Wireless, BLUETOOTH® speakers
- Soundbars and subwoofers
- Heat or efficiency sensitive audio system
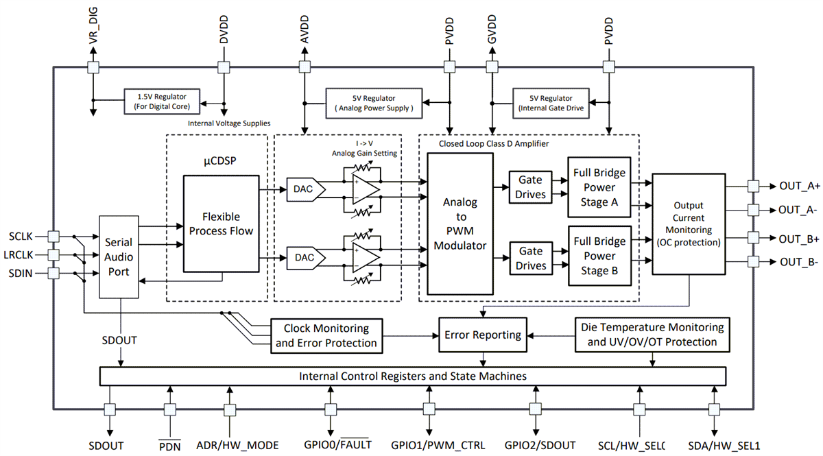
Functional Block Diagram
Inilathala: 2022-03-18
| Na-update: 2022-04-24
