Texas Instruments TAS5830 65W Stereo Class-D Amplifier
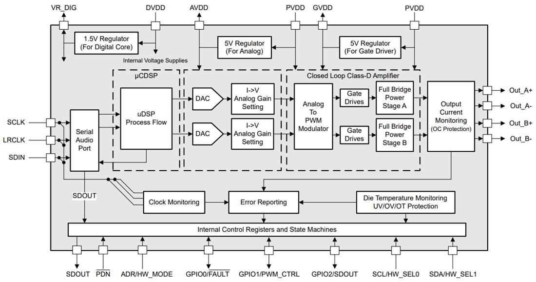
Texas Instruments TAS5830 65W Stereo Class-D Amplifier is a stereo high-performance, closed-loop Class-D amplifier with an integrated audio processor and up to 192kHz audio support. When setting the device into Hardware control mode, TAS5830 supports selecting switching frequency, analog gain, BTL/PBTL mode, and cycle-by-cycle current limit threshold through pin configuration. This mode is designed to eliminate end system software driver integration efforts.The Texas Instruments TAS5830 also provides DSP features, rattle suppression, and a frequency limiter. Rattle suppression reduces the gain of the signal at frequencies that cause rattle through interaction with the speaker enclosure, improving sound quality. The frequency limiter process senses the input level, dynamically limits EQ's gain, and helps SPL without phase change.
Features
- Supports multiple output configurations
- Two × 80W, BTL Mode (4Ω, 26V, THD+N=10%)
- Two × 65W, BTL Mode (4Ω, 26V, THD+N=1%)
- Two × 74W, BTL Mode (6Ω, 30V, THD+N=10%)
- Two × 63W, BTL Mode (6Ω, 30V, THD+N=1%)
- One × 151W, PBTL Mode (3Ω, 30V, THD+N=10%)
- One × 131W, PBTL Mode (3Ω, 30V, THD+N=1%)
- Flexible audio I/O
- Supports 32, 44.1, 48, 88.2, 96, 192kHz sample rates
- I2S, LJ, RJ, 4- 16 channels TDM input
- SDOUT for audio monitoring, sub-channel, or echo cancellation
- Supports 3-wire digital audio interface (no MCLK required)
- High-efficiency Class-D modulation with > 90% power efficiency, 70mΩ RDSon
- Excellent audio performance
- THD+N ≤ 0.03% at 1 W, 1kHz, PVDD = 12V
- SNR ≥ 110dB (A-weighted), ICN ≤ 40µVrms
- Flexible processing features
- 3-Band advanced DRC + two EQs + AGL + two EQs
- 15 BQs per channel, level meter
- 96kHz, 192kHz processor sampling
- Mixer, volume, dynamic EQ, output crossbar
- PVDD sensing and Class-H algorithm audio signal tracking
- Rattle suppression, frequency limiter
- Flexible power supply configurations
- PVDD: 4.5V to 30V
- DVDD and I/O: 1.8V or 3.3V
- Excellent integrated self-protection
- Over-current error (OCE)
- Cycle-by-cycle current limit supports four selectable OC levels
- Over-temperature warning (OTW)
- Over-temperature error (OTE)
- Under and over-voltage lock-out (UVLO/OVLO)
- PVDD voltage drop detection
- Easy system integration
- I2C software control (TAS5830 supports both Fast and Fast Plus mode) or hardware mode
- Fewer passives are required compared to open-loop devices
Applications
- Battery-powered speaker
- Wireless BLUETOOTH® speakers
- Soundbars and subwoofers
- Smart speaker
Functional Block Diagram
Inilathala: 2025-08-20
| Na-update: 2025-08-28
