Texas Instruments TDC7201 Time-to-Digital Converter
Texas Instruments TDC7201 Time-to-Digital Converter is designed for use with ultrasonic, laser, and radar range-finding equipment using the time-of-flight technique. The TDC7201 has two built-in Time-to-Digital Converters (TDCs) that can be used to measure the distance down to 4cm and up to several kilometers using a simple architecture. This feature eliminates the need to use expensive FPGAs or processors. Each TDC performs a stopwatch function and measures the elapsed time (time-of-flight or TOF) between a START pulse and up to five STOP pulses. The ability to measure simultaneously and individually on two pairs of START and STOP pins using two built-in TDCs offers high flexibility in time measurement design. The device has an internal self-calibrated time base which compensates for drift over time and temperature. Self-calibration enables time-to-digital conversion accuracy in the order of picoseconds. This accuracy makes the Texas Instruments TDC7201 ideal for range finder applications.Features
- 55ps resolution
- 35ps standard deviation
- Measurement range
- Individual mode 1 (12ns to 2000ns)
- Individual mode 2 (250ns to 8ms)
- Combined operation (0.25ns to 8ms)
- 2.7mA low active power consumption
- Supports up to 10 STOP signals
- Autonomous multi-cycle averaging mode for low power consumption
- 2V to 3.6V supply voltage
- –40°C to +85°C operating temperature
- SPI interface for register access
Applications
- Range finders
- LIDAR
- Drones and robotics
- Advanced Driver Assistance Systems (ADAS)
- Collision detection systems
- Flowmeters
Additional Resources
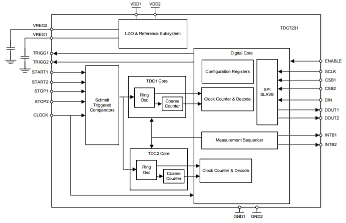
Functional Block Diagram
Inilathala: 2016-10-19
| Na-update: 2024-09-17
