Texas Instruments TPS1HA08-Q1 Smart High-side Switches
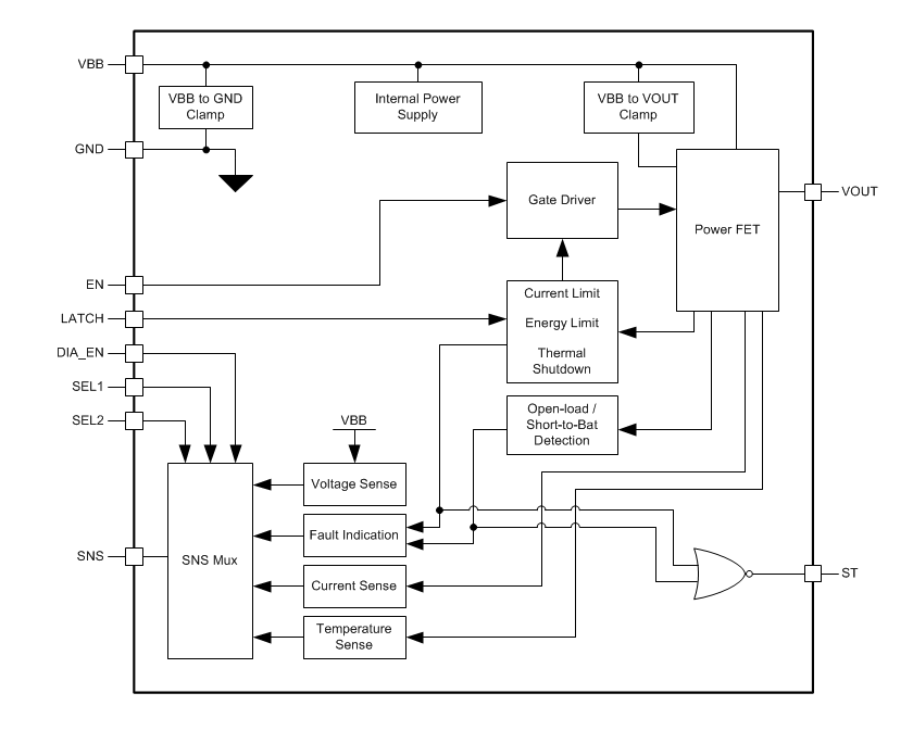
Texas Instruments TPS1HA08-Q1 Smart High-Side Switches offer robust protection and diagnostic features for 12V automotive systems. The TPS1HA08-Q1 protects against faults through a reliable current limit, which is available at 80A and 20A, depending on the device variant. The current limit can be configured to react to an overcurrent event by instantly turning the switch off or regulating the output current at the set point. The high current limit option allows for usage in loads that require large transient currents. The low current limit option provides improved protection for loads that do not require high peak current.The TPS1HA08-Q1 also enables a high-accuracy analog current sense, allowing for improved diagnostics when driving loads. The TPS1HA08-Q1 delivers predictive maintenance and load diagnostics that lengthen the system's lifetime via reporting load current, device temperature, and supply voltage to a system MCU. The Texas Instruments TPS1HA08-Q1 devices are AEC-Q100 qualified for automotive applications.
Features
- Improve reliability through selectable current limiting
- Current limit set-point at 20A or 80A
- Overcurrent response of current clamping or instant shutdown
- Robust integrated output protection
- Integrated thermal protection
- Protection against short-to-ground/battery
- Automatic switch-on during reverse battery
- Automatic shut off if loss of battery/ground occurs
- Integrated output clamp to demagnetize inductive loads
- Configurable fault handling
- Analog sense output can be configured to accurately measure
- Load current
- Supply voltage
- Device temperature
- Provides FLT indication back to MCU
- Detection of open load and short-to-battery
- Single-channel smart high-side switch with 8mΩ RON (TJ=25°C)
- AEC Q-100 qualified for automotive applications
- Device temperature Grade 1 (–40°C to +125°C ambient operating temperature range)
- Withstands 40V load dump
Applications
- Body control modules
- Incandescent and LED lighting
- Heating elements
- Seat heaters
- Glow plug
- Tank heaters
- Transmission control unit
- Climate control
- Infotainment display
- ADAS modules
Simplified Schematic
Block Diagram
Inilathala: 2019-02-20
| Na-update: 2025-03-10
