Texas Instruments TPS2411EVM-096 Evaluation Module
Texas Instruments TPS2411EVM-096 Evaluation Module allows reference circuit evaluation of the TPS2411 O-Ring Power Rail Controllers. The TPS2411 emulates the function of a low forward-voltage diode in conjunction with an external N-channel MOSFET. The Texas Instruments TPS2411EVM-096 Evaluation Module offers an onboard LED that provides an indication of operating status and fault conditions.Features
- Dual-channel O-ring control from 0.8V to 16.5V
- Support standard O-ring configuration and back-back MOSFET operation for bidirectional blocking also
- Programmable overvoltage cutoff and under-voltage
- Onboard LED provides an indication of operating status and fault conditions
Layout
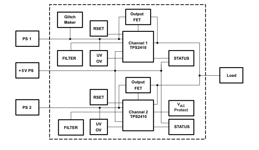
Block Diagram
Inilathala: 2019-10-25
| Na-update: 2024-01-12
