Texas Instruments TPSM82866C Step-Down MagPack™ Power Module
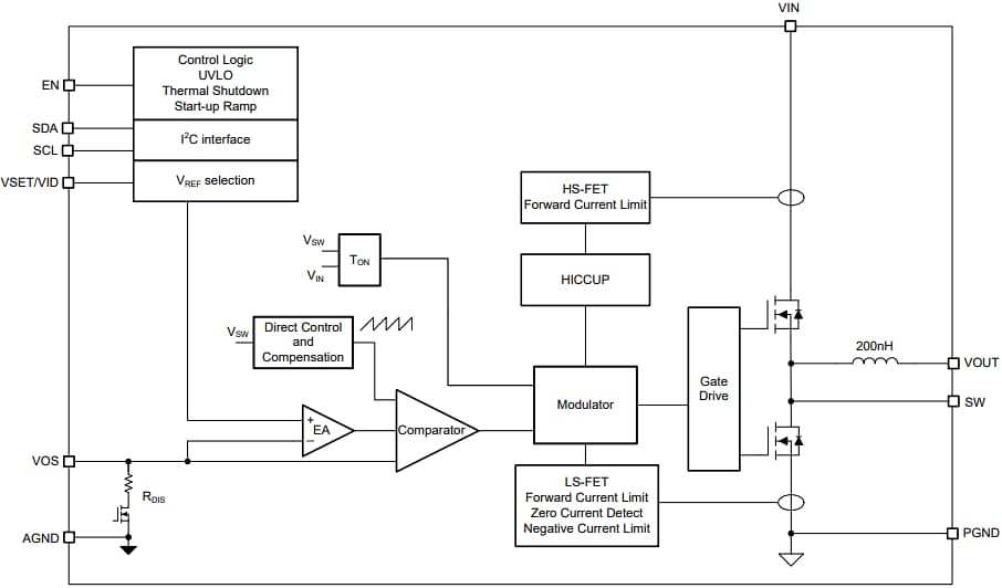
Texas Instruments TPSM82866C Step-Down MagPack™ Power Module is an ultra-small 6A step-down module with an integrated inductor and I2C interface. This module features a 5.5V input in a MagPack package with dimensions of only 2.3mm x 3mm, supplying a power density of nearly 1A per 1mm2 of area. The MagPack technology from TI integrates a synchronous step-down converter and an inductor to simplify designs, save PCB area, and reduce external components. The I2C interface offers an effective way to adjust the output voltage, set the VOUT ramp rate when transitioning to a new setpoint, and read status information such as thermal warnings or current limit flags. Overtemperature and hiccup short-circuit protections provide a robust and reliable design. Texas Instruments TPSM82866C Step-Down MagPack Power Module are compact and efficient, making them ideal for automated assembly via standard surface-mount equipment.Features
- Up to 96% efficiency
- Excellent thermal performance
- I2C-compatible interface up to 3.4Mbps
- I2C programmable
- Output voltage
- 0.4: 1.675V in 5mV steps
- 0.8: 3.35V in 10mV steps
- Forced PWM or power save mode
- Output voltage discharge
- Output voltage
- I2C device status readback of
- Thermal warning
- Hiccup current limit
- Vin below UVLO
- Resistor selectable
- I2C address
- 16 start-up output voltage options
- 1% output voltage accuracy
- DCS-control topology for fast transient response
- 4µA operating quiescent current
- Optimized for low EMI requirements
- No bond wire package
- MagPack technology shields inductor and IC
- Simplified layout through optimized pinout
- -40°C to +125°C operating temperature range
- 2.3mm x 3mm x 1.95mm QFN package
- 28mm2 design size
Applications
- Core supply for FPGAs, CPUs, and ASICs
- Optical modules
- Medical imaging
- Factory automation and control
- Aerospace and defense
Typical Application Schematic
Efficiency
Functional Block Diagram
Additional Resources
Inilathala: 2024-07-18
| Na-update: 2025-01-29
