Texas Instruments MSP430FR215x / MSP430FR235x Microcontrollers

Texas Instruments MSP430FR215x / MSP430FR235x Microcontrollers (MCUs) are ultra-low-power low-cost devices for sensing and measurement applications. The MSP430FR235x MCUs integrate four configurable signal-chain modules called smart analog combos, each of which can be used as a 12-bit DAC or a configurable programmable-gain Op-Amp. These can be used to meet the specific needs of a system while reducing the BOM and PCB size. The device also includes a 12-bit SAR ADC and two comparators.

The MSP430FR215x and MSP430FR235x MCUs all support an extended temperature range from –40° up to 105°C. This allows for use in higher-temperature industrial applications that can benefit from the FRAM data-logging capabilities. The extended temperature range allows developers to meet the requirements of applications such as smoke detectors, sensor transmitters, and circuit breakers.

The MSP430FR215x and MSP430FR235x MCUs feature a powerful 16-bit RISC CPU, 16-bit registers, and a constant generator contributing to maximum code efficiency. The digitally controlled oscillator (DCO) allows the device to wake up from low-power modes to active mode typically in less than 10µs.

The MSP430 ultra-low-power (ULP) FRAM microcontroller platform combines uniquely embedded FRAM and holistic ultra-low-power system architecture, allowing system designers to increase performance while lowering energy consumption. FRAM technology combines the low-energy fast writes, flexibility, and endurance of RAM with the nonvolatile behavior of flash.

Features

  • Embedded microcontroller
    • 16-Bit RISC Architecture up to 24MHz
    • Extended temperature of –40°C to 105°C
    • Wide supply voltage range from 3.6V down to 1.8V
  • Optimized low-power modes (at 3V)
    • 142µA/MHz Active mode
    • Standby
      • LPM3 with 32768Hz Crystal of 1.43µA (with SVS enabled)
      • LPM3.5 with 32768Hz Crystal of 620nA (with SVS enabled)
    • Shutdown (LPM4.5) of 42nA (with SVS disabled)
  • Low-power Ferroelectric RAM (FRAM)
    • Up to 32KB of nonvolatile memory
    • Built-in Error Correction Code (ECC)
    • Configurable write protection
    • Unified memory of program, constants, and storage
    • 1015 Write cycle endurance
    • Radiation resistant and nonmagnetic
  • Ease of use
    • 20KB ROM Library includes driver libraries and FFT libraries
  • High-performance analog
    • One 12-channel 12-Bit Analog-to-Digital Converter (ADC)
    • Two Enhanced Comparators (eCOMP)
    • Four Smart Analog Combo (SAC-L3) (MSP430FR235x devices only)
  • Intelligent digital peripherals
    • Three 16-Bit timers with three capture/compare registers each (Timer_B3)
    • One 16-Bit timer with seven capture/compare registers each (Timer_B7)
    • One 16-Bit counter-only Real-Time Clock Counter (RTC)
    • 16-Bit Cyclic Redundancy Checker (CRC)
    • Interrupt Compare Controller (ICC) enabling nested hardware interrupts
    • 32-Bit hardware multiplier (MPY32)
    • Manchester Codec (MFM)
  • Enhanced serial communications
    • Two enhanced USCI_A (eUSCI_A) modules support UART, IrDA, and SPI
    • Two enhanced USCI_B (eUSCI_B) modules support SPI and I2C
  • Clock System (CS)
  • General Input/Output and pin functionality
  • Package options
    • 48-Pin LQFP (PT)
    • 40-Pin VQFN (RHA)
    • 38-Pin TSSOP (DBT)

Applications

  • Smoke and heat detectors
  • Sensor transmitters
  • Circuit breakers
  • Sensor signal conditioning
  • Wired industrial communications
  • Optical modules
  • Battery pack management
  • Toll tags

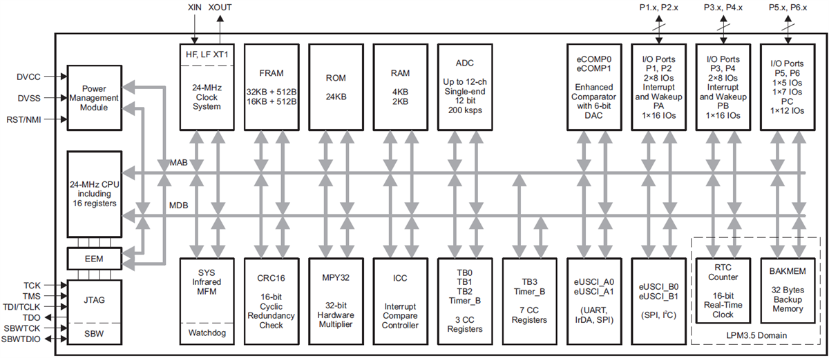
MSP430FR215x Block Diagram

Block Diagram - Texas Instruments MSP430FR215x / MSP430FR235x Microcontrollers

MSP430FR235x Block Diagram

Block Diagram - Texas Instruments MSP430FR215x / MSP430FR235x Microcontrollers
Inilathala: 2018-08-01 | Na-update: 2025-04-16